РАДИОМЕТР С УНИВЕРСАЛЬНЫМ ПИТАНИЕМ
В. Лантух, Б. Нейман, А. Кузьмин (Радио №1/1963 ст.44)
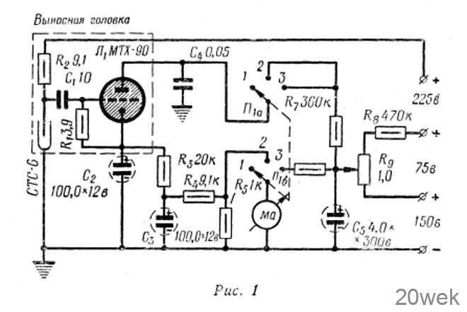
Обнаружение участков местности или помещений с повышенной радиоактивностью можно произвести с помощью простого радиометра, измеряющего мощность дозы γ-излучения в диапазоне 0—1500 мкр/час и β-излучения в диапазоне 0—2000 раса./мин, см². Схема предлагаемого радиометра (рис. 1) в основном заимствована из схемы промышленного поискового радиометра типа РП-1.
Для обнаружения радиоактивных излучений в радиометре используется газовый счетчик типа СТС-б.

При отсутствии облучения счетчика, когда заканчивается процесс заряда емкости C1 падение напряжения на сопротивлении R1 отсутствует и разность потенциалов между катодом и управляющим электродом тиратрона МТХ-90 будет равна 0, и он будет заперт.
При появлении в объеме счетчика ионизирующей частицы в нем происходит ионизация газа, и внутреннее сопротивление счетчика уменьшается Конденсатор С1, ранее заряженный до напряжения питания счетчика через сопротивление R1—Р3, будет разряжаться через счетчик (рис. 1).
При разряде конденсатора С1 на сопротивление R1 возникает отрицательный импульс напряжения, и тиратрон открывается. Импульсы тока, возникающие каждый раз, как только в объем счетчика попадает ионизирующая частица, проходят через конденсатор С4, сопротивления R3, R4, R5, заряжая конденсаторы С2 Сз. С помощью микроамперметра измеряют величину напряжения на этих конденсаторах. Показания микроамперметра будут пропорциональны числу ионизирующих частиц, то есть величине мощности дозы облучения счетчика.
Напряжение на аноде тиратрона контролируется с помощью микроамперметра с добавочным сопротивлением R6 в положении 3 переключателя П1б. Регулировка этого напряжения осуществляется сопротивлением R9, ручка которого выведена на переднюю панель прибора.
Контроль напряжения производится при отсутствии облучения счетчика радиометра.
В положении 1 переключателя П1 радиометр выключен. В положении 2 включается источник питания, а микроамперметр подсоединяется к конденсаторам для измерения напряжения, а следовательно, и радиоактивности.
Питание прибора осуществляется от универсального источника питания. Принципиальная схема универсального источника питания представлена на рис. 2.

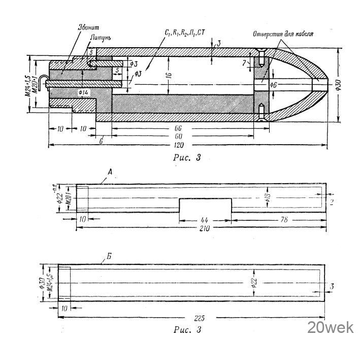
Прибор конструктивно оформлен в виде двух блоков— пульта управления с источником питания и выносной головки, в которой монтируются детали, отведенные на схеме пунктиром.
Выносная головка соединяется с пультом управления кабелем длиной 1,5 м. На переднюю панель пульта управления выносятся: прибор типа М592 (50 мка), ручка потенциометра R9 и ручка переключателя П1.
Конструкция выносной головки показана на рис. 3. Для измерения мощности дозы γ-излучения используется чехол «Б»; в этом случае (β-частицы не проникают в счетчик, а поглощаются в слое алюминия.

Для измерения (β-активности чехол «Б» снимается, и в таком положении (β-частицы проникают сквозь окно в чехле «А». Если при этом имеется гамма-излучение, то радиометр будет показывать суммарное значение (β- и γ-излучения.
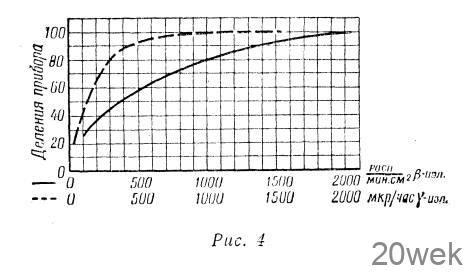
На рис. 4 представлена зависимость показаний прибора радиометра от величины мощности дозы γ-излучения в мкр/час и показания прибора от величины β-активности в раса/мин. см². Эти кривые могут отличаться для каждого радиометра, в зависимости от разброса параметров деталей в схеме. При наличии эталонных радиоактивных источников нужно производить систематическую градуировку радиометра.

Градуировка на гамма-активность производится по
следующей формуле:

где Р — необходимая при градуировке мощность дозы в мр/час,
Рф — величина фона в мр/час,
R — расстояние по градуировочной линейке между центром, эталона и осью выносной головки в см,
А — активность эталона в милликюри/мкю/,
R — постоянная, для радия — 8,4х10³, для радиоактивного кобальта — 13,5х10³.
Градуировку лучше всего производить на ровной, открытой со всех сторон площадке, на деревянной градуировочной линейке.
При градуировке на бета-активность необходимо иметь набор эталонов с бета-излучением с активной площадью 8,8 см².
Описываемый радиометр может получать питание от сухих батарей, либо от универсального источника питания. Универсальный источник питания состоит из преобразователя на транзисторах и двух выпрямителей на полупроводниковых диодах. Схема универсального источника питания представлена на рис. 2. Напряжение аккумуляторной батареи преобразуется генератором на транзисторах в переменное напряжение, которое затем трансформируется и выпрямляется.
В качестве задающего генератора преобразователя применен обычный мультивибратор, с периодом колебаний 3300 мксек (303 гц). ‘
С целью уменьшения внутреннего сопротивления вторичных цепей трансформатора и для подбора требуемого напряжения, вторичные обмотки трансформатора состоят из нескольких секций. Обмотка III рассчитана на больший ток и гальванически с другими обмотками не связана. Подключение нужной секции осуществляется перемычками на распределительной плате.
Выпрямитель низкого напряжения собран по мостовой схеме. Высоковольтный выпрямитель может работать как по мостовой схеме, так и по схеме удвоения напряжения.
В качестве фильтров для сглаживания пульсаций применены обычные цепочки RC.
В низковольтной цепи — это С7—С10, в высоковольтной цепи — R3, R4, С3—С6, причем сопротивления Rз и R4 отличаются друг от друга по номиналу в 18 с лишним раз и, следовательно, подключая меньшее сопротивление, можно получать на входе большую мощность при одинаковых других параметрах. Однако при этом возрастут пульсации на выходе выпрямителя.
Следовательно, если при питании дозиметрического прибора можно пренебречь коэффициентом пульсаций и требуется значительная мощность, то сопротивление R4 шунтируется сопротивлением R3 (клеммы 7 и 14 соединяются перемычкой). Выходное низкое напряжение снимается с клемм 8 и 16. Высоковольтное напряжение снимается с клемм 15 и 7.
Постоянное напряжение на выходе универсального источника питания может иметь значение от 0 до 550 в в зависимости от нагрузки, переключения обмоток, цепей фильтра и схем выпрямления.
Коэффициент пульсации при разных нагрузках изменяется в значительных пределах, однако на нормальную работу многих дозиметрических приборов это не сказывается. Наибольшая выходная мощность универсального источника питания достигает 0,85 вт, наибольший потребляемый ток достигает 700 мА, и ток холостого хода порядка 200 мА. При больших снимаемых мощностях мультивибратор не самовозбуждается.
Первичное напряжение взято равным 3,1 в. Напряжение более 3,4 в на вход универсального источника питания подавать нельзя, так как это выведет его из строя. Однако преобразователь хорошо работает от напряжений в пределах от 1 до 3 в, причем выходное напряжение изменяется приблизительно пропорционально входному.
Трансформатор Тр1 собран на сердечнике из пластин трансформаторной стали размером Ш-10, толщина набора 11 мм. Обмотки I и II содержат по 60 витков провода ПЭЛ 0,6. Обмотка III имеет 500 витков, намотанных проводом ПЭЛ 0,17. Обмотки IV—VIII выполнены проводом ПЭЛ 0,1 и состоят каждая из 1000 витков.
Дроссель Дрг намотан на ферритовом кольце диаметром 20 мм и имеет 200 витков провода ПЭЛ 0,6.
Средний кпд преобразователя порядка 35%.
Первичным источником напряжения служат два аккумулятора типа СЦ 5, которых достаточно на 15 часов непрерывной работы прибора. Вес универсального источника питания без аккумуляторов 350 г.
Питание цепей накала ламп дозиметрических приборов осуществляется непосредственно от общего аккумулятора.
Входное напряжение аккумуляторов подается на клеммы 1 и 9 распределительной платы; благодаря низкому напряжению коллекторного питания, преобразователь выдерживает кратковременную перемену полярности на клеммах 1 и 9.
Конструктивно универсальный источник питания выполнен в прямоугольном корпусе размерами 75Х
диаметром 20 мм и имеет 200 витков провода ПЭЛ 0,6.
Средний кпд преобразователя порядка 35%.
Первичным источником напряжения служат два аккумулятора типа СЦ 5, которых достаточно на 15 часов непрерывной работы прибора. Вес универсального источника питания без аккумуляторов 350 г.
Питание цепей накала ламп дозиметрических приборов осуществляется непосредственно от общего аккумулятора.
Входное напряжение аккумуляторов подается на клеммы 1 и 9 распределительной платы; благодаря низкому напряжению коллекторного питания, преобразователь выдерживает кратковременную перемену полярности на клеммах 1 и 9.
Конструктивно универсальный источник питания выполнен в прямоугольном корпусе размерами 75Х65X40 мм и может быть размещен в отсеке для батарей почти в любом дозиметрическом приборе.
При использовании универсального источника питания с любым другим батарейным дозиметрическим прибором следует включить его на соответствующее напряжение питания и мощность. Эти две величины обычно указываются в описаниях или в технических формулярах.
Если для питания дозиметрического прибора требуется несколько значений напряжений, то в этом случае необходимо применять делитель напряжения.
Делитель напряжения можно смонтировать на распределительной колодке. Если напряжения питания прибора не имеют точек с одинаковыми потенциалами, то выходные напряжения снимаются с обмотки III и с одной из обмоток IV—VIII.





