Простой осциллограф
Радио №4/1965, ст. 54
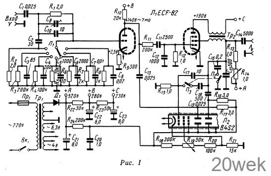
Осциллограф предназначен для наблюдения импульсов кадровой и строчной развертки, он может быть полезен в практике ремонта и настройки телевизионной аппаратуры. Выполнен этот осциллограф на трубке типа B4S2 (рис. 1).

Известно, что потенциал электронного луча увеличивается в направлении экрана трубки, поэтому у большинства осциллографов положительный полюс анодного напряжения для питания трубки соединен с шасси. В усилителях же с шасси соединяют минусовой полюс источника питания, поэтому для питания осциллографа обычно используют два отдельных выпрямителя с двумя многозвенными сглаживающими фильтрами. В данном случае трубка и усилитель питаются от общего блока питания, у которого минусовой провод соединен с шасси. Чтобы добиться желаемого повышения потенциала в трубке, ее помещают в специальный цилиндр из 2-мм стали и, изолировав его от шасси, соединяют с положительным проводом выпрямителя.
В целях упрощения прибора количество органов управления сокращено до минимума. Так, вместо регулятора яркости включено постоянное сопротивление R21, а уровень яркости устанавливается заранее. При желании его можно изменить, подобрав заново величину этого сопротивления. Исключение составляет потенциометр R19. Больше никаких особенностей данная конструкция не имеет, следует только подчеркнуть, что сопротивления R16 и R17 нужно соединить с плюсовым проводом, а не с шасси, как это обычно делается.
Измерительный усилитель и генератор развертки выполнены на лампе ECF-82. Усилитель собран на триоде, а генератор на пентоде этой лампы. Напряжение, поступающее на осциллограф с телевизионного приемника, равно одному вольту, поэтому триодного каскада усиления вполне достаточно, чтобы на экране трубки получилось изображение импульса развертки высотой 20 мм. Граничная частота усилителя не может быть твердо установлена, так как она зависит от многих причин. Если пренебречь внутренним сопротивлением лампы и считать, что емкостная нагрузка выхода 30 пф, то fГр будет равна:

Применение пентода для генератора развертки объясняется тем, что он имеет более высокую крутизну, чем триод, и обеспечивает хорошую линейность пилообразных колебаний. Однако последний параметр зависит и от кривой заряда, поэтому сопротивление R14 подключено непосредственно к зарядному конденсатору С15, а на анод пентода подается напряжение 230 в.
Катушка блокинг-генератора содержит 2X200 витков провода ПЭЛ 0,2.
Синхронизирующий сигнал подается от телевизора через цепочку R11С11. Если синхронизация недостаточно устойчива, сопротивление R11 можно увеличить до 400 ком. Частота генератора может изменяться скачком от 1 до 20 кгц. Такого изменения частоты добиваются, подключив тумблером П2, связанным с /П3, параллельно конденсатору С15 конденсатор С16.
Данный осциллограф можно использовать как сигнал-генератор, при этом колебания следует снимать с катушки блокинг-генератора через конденсатор С14.
«Radio und Fernsehen», 1964, №19
ОТ РЕДАКЦИИ. Лампу ECF-82 можно заменить отечественной лампой 6Ф1П, осциллографическую трубку можно применить типа 5ЛО38.





