Простейший усилитель НЧ
Радио №7/1966, ст.58
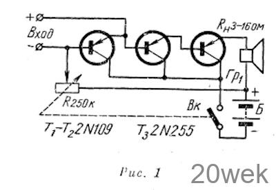
Усилитель НЧ, схема которого изображена на рис. 1, отличается чрезвычайной простотой. Три транзистора, потенциометр для регулировки громкости с выключателем, громкоговоритель и батарея от карманного фонаря — вот и все детали, которые требуются для постройки такого усилителя

Все три каскада усилителя — с непосредственной связью. В первых двух каскадах (Т1 и Т2) используются маломощные низкочастотные транзисторы, в выходном каскаде (Т3) должен быть применен мощный транзистор, через который проходит почти весь ток, потребляемый усилителем от батарей.
При подключении ко входу усилителя источника сигналов с постоянной составляющей должна соблюдаться полярность, указанная на схеме. Если источник сигналов соединяется с усилителем через низкочастотный трансформатор, последовательно с базой транзистора Т1 необходимо подключить разделительный конденсатор емкостью около 5 мкф.
Описанный усилитель может быть использован для многих целей, например, для работы от динамического микрофона, который также подключается ко входу усилителя через разделительный конденсатор. Вместо динамического микрофона можно применить электромагнитный телефонный капсюль. Этот усилитель можно легко превратить и в простейший приемник, соединив его со схемой, показанной на рис. 2. Наконец два таких усилителя с отдельными громкоговорителями могут быть использованы в портативной стереофонической системе звучания.

В усилителе может быть применен любой громкоговоритель с сопротивлением звуковой катушки в 3~16 ом. При этом никакого выходного трансформатора не требуется. При использовании громкоговорителя с сопротивлением в 3—4 ом напряжение питающей батареи не должно превышать 4,5 В, при этом максимальная неискаженная выходная мощность составляет около 150 мвт. Если используются громкоговорители с сопротивлением в 8-16 ом, напряжение батареи может быть увеличено до 6—12 в.
Усилитель воспроизводит полосу частот от 100 до 6000 гц.
ОТ РЕДАКЦИИ. В качестве транзисторов Т1 и Т2 могут быть использованы отечественные транзисторы типов П13Б или П14, а транзистора Т3—П201А. Вместо диода 1N34 можно применить любой диод серии Д2 или Д9.
Катушку L1 магнитной антенны можно намотать на ферритовом стержне длиной 120—140 мм. Для диапазона ДВ катушка должна содержать около 200 витков провода ПЭЛШО 0,1, намотанных внавал. Отвод делается от 1/5 части витков, считая от заземленного конца.
Для приема более удаленных радиостанций необходимо подключать наружную антенну и заземление (на схеме показаны пунктиром).





