Прибор для обнаружения мест сварки стальной проволоки
Б. Погребцов, И. Миненков, Радио №1/1966, ст.43
В результате экспериментальных исследований было установлено, что наиболее простой и достаточно надежный метод обнаружения мест сварки основан на изменении магнитных свойств проволоки (коэрцитивной силы, магнитной проницаемости) в месте сварки из-за окисления, изменения структуры в момент сварки и отжига сваренного участка. Обнаружить эти изменения магнитных свойств можно следующим образом.
Контролируемую проволоку намагничивают вдоль ее оси достаточно сильным магнитным полем, а затем пропускают через измерительную катушку. В местах сварки остаточная намагниченность проволоки отличается от намагниченности прочих участков. Это вызывает импульсы эдс при прохождении проволоки через измерительную катушку
Кроме того, в катушке наводится эдс, вызванная неоднородностями магнитных свойств проволоки. Эта эдс (помеха), как показали исследования, имеет широкий частотный спектр Амплитуда тех ее составляющих, частота которых (30—60 гц) близка к частоте полезного сигнала, в 2—3 раза меньше амплитуды полезного сигнала. Более высокочастотные составляющие (500—1000 гц) имеют амплитуду, превышающую амплитуду сигнала. Амплитуда сигнала составляет 5—10 мв.
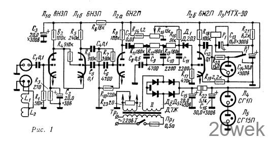
Принцип действия. Прибор состоит из датчика, устанавливаемого на волочильном стане, электронного блока и соединительных кабелей. Принципиальная схема прибора представлена на рис.1. Сигнал с измерительных катушек датчика подается по гибкому экранированному кабелю на первый каскад усилителя, собранного по каскодной схеме на лампе Л1. Этот каскад при большом коэффициенте усиления отличается малым уровнем собственных шумов.

Между первым и вторым каскадами включен Г-образный фильтр нижних частот (R7C6), который подавляет высокочастотные помехи. Второй и третий каскады собраны на лампе Л2. Между ними включен трехзвенный фильтр нижних частот с нулевой точкой (R11—R13, С8—С11) и амплитудный селектор (диод Д1). Порог срабатывания амплитудного селектора можно регулировать потенциометром R15. При отсутствии сигнала диод заперт положительным напряжением, поступающим с потенциометра R15 через сопротивление R16. Чтобы селектор не пропускал помеху, запирающее напряжение должно быть меньше амплитуды сигнала, но больше амплитуды помехи. Оконечный каскад представляет собой электронное реле, выполненное на тиратроне МТХ-90 (Л3).
Питается прибор от сети переменного тока. Анодное напряжение дополнительно стабилизировано газовыми стабилизаторами Л4 и Л5. Силовой трансформатор взят от радиолы «Рекорд-61».
Конструкция прибора. Датчик заключен в литой корпус, закрытый дюралюминиевыми крышками. Внутрь корпуса помещен магнит из сплава АНКО-4 и искательная катушка, состоящая из двух дифференциально включенных секций. Отверстия для прохода проволоки армированы сплавом ВК-6. На датчике имеется штеккерный разъем для соединения с электронным блоком.
Электронный блок собран на дюралюминиевом шасси и помещен во влагонепроницаемый корпус. На передней панели расположены штеккерные разъемы для подключения датчика исполнительного устройства и сети, тумблер включения, предохранитель, индикатор включения, индикатор срабатывания. Ось потенциометра R15 выведена под шлиц.
Прибор успешно прошел испытания на Белорецком металлургическом комбинате и передан ему для внедрения в проволочном производстве.





