ПРИБОР ДЛЯ ИЗМЕРЕНИЯ R-L-C
А. ГОРБУНОВ, Радио №4/1968, ст.41
Прибор позволяет измерять сопротивления от 1 ом до 10 Мом (1—100 ом; 100 ом—1 ком; 1 — 100 ком; 100 ком—10 Мом), емкости конденсаторов от 10 пф до 10 мкф (10—1000 пф; 1000 пф —0,1 мкф; 0,1—10 мкф) и индуктивности катушек от 0,1 мкгн до 25 мгн (0,1 — 5 мкгн; 5—60 мкгн; 60—550 мкгн; 500 мкгн — 3,5 мгн; 3—25 мгн). Кроме того, его можно использовать для приближенной оценки тока утечки электролитических конденсаторов, для определения обрыва провода в катушках, в качестве генератора в диапазоне частот 12,8 кГц—6,4 Мгц, в качестве пробника, а также для определения резонансной частоты контуров. Питается прибор от сети переменного тока напряжением 127 или 220 в, его размеры — 240X155X145 мм.
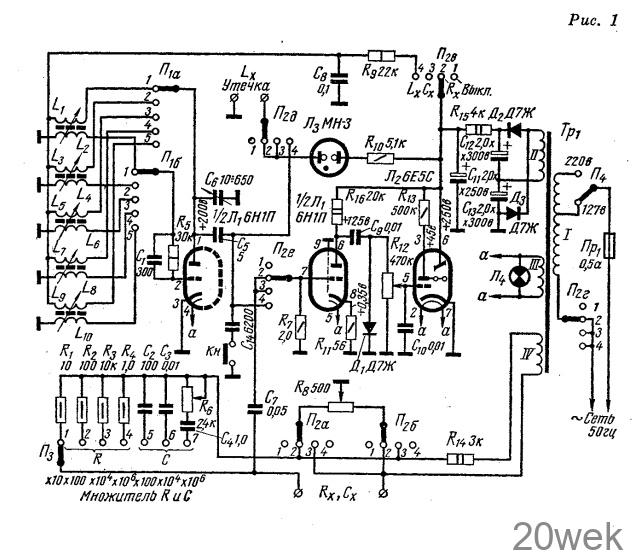
Прибор состоит из генератора и усилителя, выполненных на лампе Л1, электронно-оптического индикатора Л2, индикатора тока утечки конденсаторов и короткого замыкания, собранного на лампе Л3 (рис. 1). Генератор (12,8 кгц—6,4 Мгц) собран по схеме с индуктивной обратной связью. Вместе с конденсатором С8 катушки L1, L3, L5, L7, L9 образуют колебательные контуры. L2, L4, L6, L8, L10— катушки обратной связи. Все они подключаются к аноду лампы Л1 с помощью переключателя П1. Диапазон генерируемых частот разбит на 5 поддиапазонов (12,8—36,9 кгц; 34,1—90,3 кгц; 86— 260 кгц; 260—903 кгц; 903 кгц —6.4Мгц).

Индуктивность измеряют резонансным методом. При подключении к зажимам Lx исследуемой катушки, последняя вместе с конденсатором С14 (при нажатии кнопки Кн) образует колебательный контур. С помощью конденсатора С6 генератор настраивают на резонансную частоту контура LХС14. При этом на контуре создается максимальное напряжение. Усиленное лампой Л1 и продетектированное диодом Д1, оно поступает на лампу Л2 (электронный индикатор настройки). Момент резонанса соответствует наименьшему теневому сектору лампы Л2. На ось конденсатора С6 насажена шкала, проградуированная в единицах индуктивности. По ней и отсчитывают измеренную величину.
Сопротивления резисторов и емкости конденсаторов измеряют по мостовой схеме. Мост питается переменным током от обмотки IV трансформатора Тр1. Плечами моста служат сопротивление испытуемого резистора Rx, сопротивление одного из эталонных резисторов R1—R4 (или емкость одного из эталонных конденсаторов С2—С4) и резистор R8. Баланса моста добиваются, перемещая движок потенциометра R8. Наибольшая ширина теневого сектора свидетельствует о достижении баланса моста. Потенциометр R8 снабжен Шкалой, проградуированной в единицах сопротивления и емкости. Для перехода со шкалы сопротивлений на шкалу емкостей служит переключатель П2, а для переключения пределов измерения — П3. Чтобы выровнять величину тока по диапазонам измерений и предотвратить перегрузки испытуемых и эталонных резисторов малых сопротивлений вводится резистор R14.
Переключатель рода измерения П2 (ЗП9Н) имеет 4 положения («Выкл», «Rx», «Сх», Lx («утечка»). Лампа Л4 служит индикатором включения прибора и одновременно освещает шкалу отсчета индуктивностей. Если к зажимам Lx подключить колебательный контур, то, нажав кнопку Кн, можно определить его резонансную частоту (по шкале генератора).
Конструкция и детали. Кожух и шасси прибора изготовлены из оцинкованной стали толщиной 0,8—1 мм. Передняя панель прибора (рис. 2) выполнена из дюралюминия толщиной 1,5—2 мм. Шасси прибора разделено стальной перегородкой на две части. В одной части расположен силовой трансформатор Тр1, лампа 6Е5С, резистор R8. А в другой — конденсатор переменной емкости С6, переключатели П1, П2, лампы Л1, Л3, Л4, катушки L1—L10, конденсаторы С11—С13. Под шасси размещены эталонные резисторы и конденсаторы, переключатель П3, потенциометр регулировки чувствительности R12, диоды Д1—Д3

Обмотки контурных катушек и катушек обратной связи намотаны на бакелизированных бумажных гильзах диаметром 12 и длиной до 40 мм, надетых на ферритовые сердечники. Намотка типа «Универсаль» и внавал между изоляционными шайбами. При регулировке пределов измерения индуктивности приходится изменять число витков. Данные катушек помещены в таблице. Визир — указатель для шкалы индуктивностей изготовлен из органического стекла толщиной 2 мм. С помощью болтов он прикреплен к оси конденсатора С6. Ось этого конденсатора соединена с ручкой настройки через замедляющий верньер.
Монтаж прибора (за исключением ВЧ-цепей) выполнен проводом МГШВ. Высокочастотные цени смонтированы жестким .медным проводом. Малогабаритные резисторы, конденсаторы, диоды припаяны к монтажным лепесткам на гетинаксовых платах. Трансформатор Тр1 выполнен на сердечнике сечением 4,5 см2, площадь окна 7,8 см2. Обмотка I насчитывает 1270 витков провода ПЭЛ 0,25 плюс 930 витков провода ПЭЛ 0,2; обмотка II — 1400 витков провода ПЭЛ 0,18; обмотка III — 65 витков провода ПЭЛ 0,9; обмотка IV — 500 витков провода ПЭЛ 0,2.

Регулировка прибора. Перед включением прибора в сеть необходимо тщательно проверить по принципиальной схеме правильность его монтажных соединений. Переключатель П4 должен находиться в положении, соответствующем напряжению сети. Измерительный мост практически не требует регулировки. Чтобы точность измерения R и С была достаточно высокой, сопротивление эталонных резисторов и емкость эталонных конденсаторов следует подбирать с допуском ±1-2%. Настройка генератора, используемого при измерении индуктивности, сводится к подбору режима его генерации и уточнению границ поддиапазонов. С помощью осциллографа или широковещательного радиоприемника следует убедиться, что генерация возникает, для чего зажимы Ьх прибора соединяют со входом осциллографа или с антенной приемника. В случае отрицательного результата следует поменять местами концы обмотки одной из катушек (контурной или обратной связи). Добившись генерации, приступают к градуировке шкалы индуктивностей, начиная с первого поддиапазона. При этом зажимы Lх закорачивают, емкость конденсатора С 6 уменьшают до минимума, а затем ферритовым сердечником или изменением числа витков контурной катушки добиваются предельного сужения теневого сектора лампы 6Е5С. Затем, полностью введя емкость конденсатора С6, по эталонной индуктивности устанавливают другую границу шкалы индуктивности I поддиапазона. Последняя одновременно будет и начальной границей шкалы индуктивностей II поддиапазона и т. д. Аналогичным способом уточняют границы остальных поддиапазонов. Шкалу индуктивности можно калибровать или по образцовым индуктивностям или по самостоятельно изготовленным эталонам. Для изготовления таких эталонов необходимо намотать катушки в 1, 2, 3, 5, 10 мкгн. Соединяя эти катушки последовательно, можно проградуировать шкалу до 21 мкгн. с интервалом в 1 мкгн. В дальнейшем npи градуировке используют вновь изготовленные эталоны и уже нанесенные па шкалу точки. Эталоны больших величин индуктивности можно изготовить, применяя ферритовые сердечники, что позволит плавно менять их индуктивность. Допускается градуировка шкалы L и С но обычным серийно выпускаемым резисторам и конденсаторам с допуском ±5%. Для удобства измерения собственных резонансных частот контуров рекомендуется построить график зависимости fрез от L
