Повышающий регулятор напряжения
С. ЛУСТА Радио №5/2006 ст.39
Известно множество конструкций регуляторов действующего значения напряжения, поступающего на подключенную к сети нагрузку (обычно их называют регуляторами мощности). Но все они лишь уменьшают напряжение. Автор предлагаемой статьи нашел способ повысить его
Поводом к разработке и изготовлению этого устройства послужили регулярные (особенно в зимний период) снижения напряжения в сети 220 В до 150… 170 В. В результате становилась невозможной работа, например, с паяльником, мощность которого уменьшалась более чем в два раза — пропорционально квадрату напряжения Конечно, повысить напряжение можно с помощью регулируемого автотрансформатора, но его не сделаешь малогабаритным и легким. Известные по многочисленным публикациям регуляторы на тиристорах тоже не годятся, так как способны только уменьшать действующее значение напряжения.
Было решено подключить паяльник к сети через мостовой выпрямитель с конденсатором фильтра. Постоянное хорошо сглаженное напряжение на выходе выпрямителя (310 В при номинальном напряжении в сети) при снижении сетевого до 160 В составляет как раз 220 В. Уменьшая емкость конденсатора фильтра, можно добиться равенства действующего значения пульсирующего выпрямленного напряжения номинальному сетевому и при фактическом напряжении в сети 170…180 В.
Однако подключение к сети выпрямителя с разряженным конденсатором фильтра значительной емкости приводит к большой токовой перегрузке в момент включения. При неудачном стечении обстоятельств, например, при включении в момент максимума переменного напряжения, практически ничем не ограниченный ток зарядки способен вывести из строя как диоды выпрямителя, так и сам конденсатор. Чтобы ограничить пусковой ток, последовательно в цепь зарядки конденсатора обычно включают ограничительный резистор или терморезистор.
Но при небольшом номинале ограничительный резистор неэффективен, а при большом на нем рассеивается значительная мощность в рабочем режиме, что ведет к перегреву самого резистора и устройства, в котором он установлен. С этой точки зрения значительно лучше терморезистор, обладающий большим сопротивлением в холодном состоянии и резко его уменьшающий с разогревом. К сожалению, терморезистор довольно долго остывает и при повторном после кратковременного отключения пуске практически не ограничивает ток. Этим объясняются частые выходы из строя импульсных блоков питания при плохом контакте в розетке или после кратковременного пропадания напряжения по другим причинам.
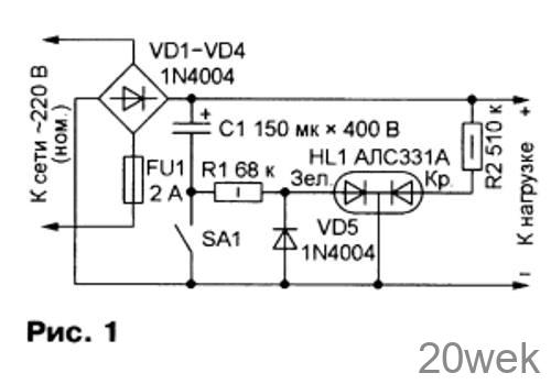
В устройстве, схема которого показана на рис. 1, было решено, отказавшись от терморезистора, предусмотреть предварительную зарядку конденсатора небольшим током до амплитудного значения сетевого напряжения с дальнейшим ручным переключением в рабочий режим.

При разомкнутом выключателе SA1 происходит зарядка конденсатора С1 током, текущим через зеленый кристалл светодиода HL1 и резистор R1. По мере зарядки этот ток уменьшается, а текущий через красный (соединенный с плюсовым выводом конденсатора через резистор R2) кристалл светодиода растет. В результате цвет свечения светодиода постепенно изменяется от зеленого до красного. Это занимает 5… 10 с, по истечении которых конденсатор можно считать заряженным. Пока выключатель SA1 разомкнут, пульсации выпрямленного напряжения остаются несглаженными и действующее значение напряжения на нагрузке практически равно сетевому. При пониженном сетевом напряжении после зарядки конденсатора С1 выключатель SA1 замыкают. Это увеличивает напряжение на маломощной нагрузке приблизительно на 40 %. С уменьшением сопротивления нагрузки пульсации выпрямленного напряжения возрастут и приращение будет меньшим, но для нормальной работы паяльника мощностью не более 100 Вт вполне достаточным.
Обратите внимание на диод VD5 Без него при отключении регулятора от сети с подключенной нагрузкой (что случается довольно часто) напряжение заряженного конденсатора С1 оказалось бы приложенным к светодиоду в обратной полярности. Это неизбежно привело бы к пробою зеленого кристалла. Диод VD5 защищает светодиод от пробоя и обеспечивает безопасную разрядку конденсатора С1 через резистор R1.
Выпрямитель собран в корпусе от малогабаритного сетевого адаптера На его верхней крышке установлены гнезда для подключения нагрузки и светодиод, а на боковой стенке — выключатель SA1. К нему можно подключать не только паяльник, но и другие нагревательные приборы и лампы накаливания. Если мощность нагрузки превышает 100 Вт, диоды выпрямительного моста следует заменить более мощными.
Заменив конденсатор С1 набором конденсаторов различной емкости, можно воспользоваться зависимостью выпрямленного напряжения (при данном сопротивлении нагрузки) от емкости конденсатора фильтра и в некоторых пределах изменять напряжение на нагрузке, переключая конденсаторы. Во избежание бросков пускового тока все конденсаторы должны быть предварительно заряжены.
Плавно регулировать выходное напряжение практически от нуля до максимума можно с помощью широтноимпульсного (ШИ) регулятора на мощном полевом транзисторе. Использовать тиристор в качестве коммутирующего элемента в данном случае нельзя, так как необходимого для выключения этого прибора спада тока нагрузки до нуля в каждом полупериоде не происходит.

Схема ШИ регулятора, дополняющего рассмотренный выше выпрямитель, изображена на рис. 2. Его прототипом послужило устройство, описанное в статье И. Нечаева «Малогабаритный регулятор мощности» («Радио», 2003, № 7, с. 38). Отличия — способ питания микросхемы DD1 и более мощный полевой транзистор VT1. Изменяя переменным резистором R5 скважность открывающих транзистор импульсов от 1,01 до 100, удается уменьшать выпрямленное напряжение, поступающее на нагрузку почти до нуля. Это обеспечивает работу паяльника как с уменьшенной мощностью, так и с перегревом, который может потребоваться для пайки массивных деталей. Очень удобно установить в качестве R5 переменный резистор, спаренный с выключателем SA1 (см. рис. 1). Последний должен срабатывать в положении движка переменного резистора, соответствующем минимальному выходному напряжению.





