Повышающий регулятор мощности паяльника
А. АБРАМОВИЧ, Радио №1/2014 ст.26
Предлагаемый вниманию читателей прибор предназначен для регулирования мощности паяльников и других нагревательных приборов мощностью до 100 Вт. Его можно использовать также для питания осветительных приборов с лампами накаливания такой же мощности при пониженном напряжении в сети.
Отличительная особенность прибора его способность регулировать мощность, передаваемую в нагрузку, не только в сторону её уменьшения, но и в сторону увеличения относительно номинального значения. Интервал регулирования очень широк — от 1 до 180 % номинальной мощности подключённой нагрузки. Как известно, амплитудное значение синусоидального сетевого напряжения в 1,41 раза больше эффективного. За счёт этого, подключив к сети выпрямитель со сглаживающим фильтром, можно получить постоянное напряжение около 310 В. Из него несложно сформировать прямоугольные импульсы такой амплитуды, а меняя их коэффициент заполнения, можно регулировать эффективное значение импульсного напряжения от нуля до 1,41 эффективного значения исходного синусоидального напряжения. Тепловая мощность питаемого таким напряжением паяльника или другого нагревательного прибора будет меняться от нуля до удвоенной номинальной мощности.
Описание устройства, работающего по описанному выше принципу, было опубликовано ранее в статье С. Лусты «Повышающий регулятор напряжения» («Радио», 2006, № 5, с. 39). Предложенный в ней регулятор прост и компактен, однако ему присущи некоторые недостатки. Отсутствует какая-либо индикация установленного уровня мощности, регулируется она вращением ручки переменного резистора. Кроме того, при включении устройства в сеть необходимо соблюдать определённые правила, иначе оно может быть повреждено.
Предлагаю вниманию читателей регулятор, собранный на микроконтроллере. Он имеет кнопочное управление и цифровую индикацию установленной мощности. Три режима работы, выбираемые нажатиями на соответствующие кнопки, позволяют быстро разогревать паяльник даже при пониженном напряжении в сети, а затем поддерживать его рабочую температуру. Установленную для каждого режима работы мощность также можно изменять нажатиями на кнопки. Заданное значение автоматически сохраняется в энергонезависимой памяти микроконтроллера. К регулятору можно подключать паяльники мощностью до 100 Вт, а также осветительные приборы с лампами накаливания.
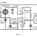
Схема регулятора мощности изображена на рис. 1 Его основа — микроконтроллер PIC16F628 (DD1), в котором имеется модуль ШИМ, формирующий на выходе RB3 прямоугольные импульсы программно изменяемой скважности. Частота следования этих импульсов при работе микроконтроллера от встроенного RC-генератора около 360 Гц. Их коэффициент заполнения (величина, обратная скважности) пропорционален установленному значению выходной мощности.

Импульсы поступают на излучающий диод оптрона U1, необходимого для гальванической развязки силовой и низковольтной частей прибора. С коллектора фототранзистора оптрона управляющие импульсы поступают на затвор полевого транзистора VT3. который коммутирует нагрузку. Стабилитрон VD6, включённый между затвором и истоком транзистора, ограничивает амплитуду управляющих импульсов до безопасного значения.
Формирователь импульсов питается от выпрямителя сетевого напряжения на диодном мосте VD5 со сглаживающим конденсатором С4. Для ограничения тока зарядки этого конденсатора в момент включения устройства в сеть применён терморезистор RK1 Фильтр L1C1C2 предотвращает проникновение помех от прибора в питающую сеть.
К выходам RB4—RB7 микроконтроллера через преобразователь кода DD2 подключён четырёхразрядный семиэлементный светодиодный индикатор HG1, в котором используются только три разряда. Общие аноды элементов разрядов подключены к эмиттерам транзисторов VT1, VT2, VT4.
С выходами RA3, RA6, RA7 микроконтроллера соединены светодиоды, которые показывают выбранный режим работы. К входам RBO—RB2 подключены кнопки управления.
Цифровая часть прибора питается от стабилизатора напряжения на микросхеме DA1. Его выходное напряжение — 5 В при токе нагрузки до 0,4 А.
В приборе применены резисторы МЛТ и импортные оксидные конденсаторы. Транзисторы КТ503Д можно заменить приборами той же серии с любым буквенным индексом, транзистор 2SK2761 — на IRF830 или КП707В2 Оптрон РС817 — на РС120, Вместо светодиода FYL-3014UGC можно применить любой зелёного, а вместо FVL-3014SRC — красного цвета свечения. Кнопки — любые малогабаритные.
Индикатор CA56-21SRWA можно заменить на БОМБ 1DRD или использовать три одноразрядных семиэлементных индикатора с общим анодом, например, АЛС324Б или АЛСЗЗЗБ2. Катоды одноимённых элементов таких индикаторов объединяют и подключают к соответствующим выходам преобразователя кода через резисторы R9-R15.
В качестве С1, С2 необходимо использовать импортные конденсаторы, предназначенные для работы в цепях переменного тока. В крайнем случае можно применить конденсаторы К73-17 на постоянное напряжение 630 В. Дроссель L1 и терморезистор RK1 — от блока питания IBM PC.
Все детали устройства, за исключением блока питания (состоящего из трансформатора Т1, диодов VD1 VD4, микросхемы DA1, конденсаторов СЗ, С5, С6), смонтированы на печатной плате, чертёж которой приведён на рис. 2. Индикатор HG1 устанавливают на краю платы перпендикулярно её поверхности, его выводы соединяют с соответствующими контактными площадками отрезками тонкого монтажного провода.

Блок питания монтируют на отдельной печатной плате, чертёж которой не приводится. В нём можно использовать любой малогабаритный понижающий трансформатор с напряжением на вторичной обмотке 7.. 10 В при токе нагрузки 0,4 А. Пригодны некоторые унифицированные трансформаторы серии ТПП, например ТПП220-127/220-50.
Чтобы получить требуемое напряжение, в этом трансформаторе необходимо соединить последовательно все вторичные обмотки, за исключением одной напряжением 2,5В. Кроме того, следует соединить выводы 3 и 7 первичных обмоток, а напряжение 220 В подавать на выводы 2 и 9. Стабилизатор DA1 должен быть снабжён теплоотводом площадью 5. .7 см2 из алюминиевого листа.
Для питания регулятора можно использовать и готовый трансформаторный или импульсный блок питания, обеспечивающий стабилизированное напряжение 5 В при токе нагрузки не менее 0,4 А. Например, импульсный блок питания от неисправного DVD-плейера.

Внешний вид регулятора показан на рис. 3 Он собран в корпусе привода CD-ROM персонального компьютера. На передней панели расположены индикатор HG1, кнопки управления и светодиоды. На верхней крышке закреплены держатели для паяльника, а на задней стенке установлена розетка XS1 для его подключения. После сборки на регулятор необходимо подать напряжение питания и убедиться в нормальной работе его цифровой части. После этого следует проверить осциллографом амплитуду и форму импульсов на затворе транзистора VT3. Их амплитуда должна быть не менее 10В, а форма близка к прямоугольной. Если это не так, придётся подобрать резистор R8. Обращаю внимание читателей, что во время выполнения описываемых выше операций общий провод осциллографа приходится соединять с истоком транзистора VT3, имеющим гальваническую связь с питающей сетью. Работая с подключённым таким образом осциллографом, следует соблюдать осторожность, чтобы не получить электрический удар. Эксплуатируя прибор, необходимо помнить, что через него нельзя питать электроприборы, содержащие индуктивные элементы (трансформаторы, дроссели, электродвигатели), а также любые электронные узлы. Подавая на нагрузку мощность, превышающую номинальную, помните, что это приводит к резкому сокращению её ресурса, а возможны и более серьёзные неприятности. Строго соблюдайте правила пожарной безопасности и не оставляйте включённые нагревательные приборы без присмотра.
От редакции Программа микроконтроллера имеется по адресу https://ftp.radio.ru/pub/2014/01/power.zip на на тем FTP-сервере.





