ПЕРЕКЛЮЧАТЕЛИ СКОРОСТИ ДЛЯ МАГНИТОФОНА
А. БАХТИН, Радио №7/1966, ст.27
Переключатель скорости может быть применен в магнитофонах «Гинтарас», «Неринга», «Спалис» и других, имеющих одну скорость движения ленты 19,05 см/сек. Переключатель прост по конструкции, содержит небольшое число деталей, но обеспечивает удобное и надежное переключение скорости.
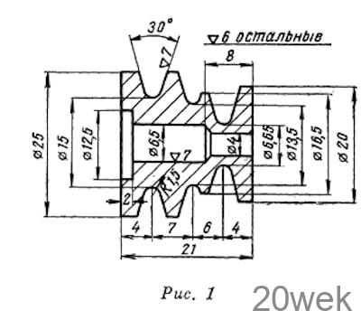
Шкив на валу электродвигателя заменяют новым, выточенным из любого металла согласно чертежу (рис. 1), где размеры даны применительно к перечисленным магнитофонам. Перевод пассика с одной ступени шкива на другую для получения скоростей 19,05 и 9,53 см/сек производят при помощи вилки 1 (рис. 2), перемещающейся в обойме 2. Обойма согнута из листовой стали толщиной 1 мм и закрыта планкой, припаянной к обойме после установки вилки. С одного конца обойма имеет отогнутый фланец с двумя отверстиями для крепления обоймы к панели магнитофона. Крепление производится винтами М4. Фиксатор 4 сделан. из плоской пружины, согнутой и припаянной к обойме.

Вилка изготовлена из листовой стали толщиной 1,5—2 мм, на конце вилки припаян лепесток 5 из белой жести, облегчающий перевод пассика на ступень шкива с большим диаметром. Край лепестка отбортован по радиусу около 2 мм. На выступ вилки, проходящий через панель, насаживают пластмассовую ручку 6.

Переключение производят перемещением ручки вверх или вниз.
В самодельных магнитофонах желательно уменьшить длину вилки, установив обойму ближе к шкиву электродвигателя.
При другом, более простом способе переделки магнитофона шкив для скорости 9,53 см[сек изготавливают отдельно (рис. 3). Шкив, имеющийся на валу электродвигателя, подвергают небольшой переделке (рис. 4). При установке шкивов на валу двигателя оставляют только одну опорную шайбу. Если при этом торец вала будет выступать за верхнюю плоскость двухручьевого шкива, вал необходимо укоротить. Во избежание соскакивания пассика с малого шкива под головку болта, крепящего шкивы на валу двигателя, подкладывают гетинаксовую шайбу диаметром 20 мм.


Переключение скорости производят специальным ключом (рис. 5), согнутым из проволоки. Введя ключ через отверстие, просверленное в панели магнитофона, перебрасывают набегающую ветвь пассика на выбранную ступень шкива






