ПЕРЕКЛЮЧАТЕЛИ ЕЛОЧНЫХ ГИРЛЯНД
Радио №12/1965, ст.47
Переключатель на одном транзисторе, схема которого показана на рис. 1, может попеременно включать и выключать гирлянду ламп.

В момент подключения его к сети (Вк1 замкнут) конденсаторы С1 и С2 начинают заряжаться. Отрицательно заряженная пластина конденсатора С1 соединена с базой транзистора. Как только конденсатор зарядится до определенного напряжения, при котором отрицательный потенциал базы станет достаточным для отпирания транзистора, последний откроется. Коллекторный ток транзистора возрастает до величины, необходимой для срабатывания реле Р1, обмотка которого включена в цепь коллектора.
Нормально замкнутые контакты реле Р1/1, размыкаются, а нормально разомкнутые Р2/1 замыкаются, подключая к сети гирлянду ламп. Конденсаторы С1 и С2 начинают разряжаться: С1 — через сопротивления R4, R2, а С2 — через транзистор, поддерживая его открытым. По мере разряда конденсатора С1 отрицательный потенциал базы Т1 уменьшается настолько, что транзистор закрывается. Контакты Р1/1 снова замыкаются, а Р2/1 размыкаются, лампы Л1 гаснут, и цикл повторяется.
Промежуток времени между зажиганием ламп зависит от постоянных времени цепей заряда и разряда, а именно: от величины сопротивлений R1—R2. Реле Р1 рассчитано на напряжение 20 V и ток срабатывания 15 ма. Если использовать более мощный транзистор, реле может быть менее чувствительным.
В. Куксенок
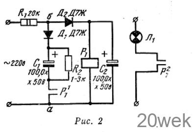
На рис. 2 приведена схема еще одного простого переключателя елочных гирлянд. При подключении его к сети начинает заряжаться конденсатор С2. Когда напряжение на конденсаторе возрастает до величины, при котором срабатывает реле Р1, замыкаются его нормально разомкнутые контакты P1/1 и Р2/1. Первые включают на заряд конденсатор С1, вторые подключают к сети лампы Л1

При замыкании контактов Р1 начинается перераспределение заряда между конденсаторами С1—С2, в результате чего напряжение между точками а—б уменьшается. Реле вернется в исходное состояние, и лампы погаснут. Выдержка времени зависит от величины сопротивления R2. Реле Р1 типа РКН, с напряжением срабатывания 24 в. Для сети 127 а сопротивление R1 надо уменьшить до 10 ком.
Р. Кокорин
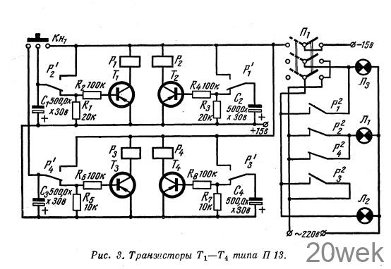
Переключатель, схема которого приведена на рис. 3, имеет большие возможности, чем первые два, хотя и несколько сложнее их. Когда переключатель П1 находится в правом (по схеме) положении, все три гирлянды ламп подключены к сети и горят. Если перевести П1 в левое положение, подключается электронный переключатель. Для запуска последнего служит кнопка Кн1

При нажатии кнопки Кн1 конденсаторы С1, С3 быстро заряжаются, в результате чего транзисторы Т1, Т3 открываются. Реле Р1, Р3, обмотки которых включены в цепи коллекторов этих транзисторов, срабатывают. Размыкаются нижние (по схеме) контакты P‘1 Р’3 , и замыкаются их верхние контакты. В результате этого конденсаторы С2 и С4 начинают заряжаться
В это время конденсаторы С1, С3 разряжаются соответственно через сопротивления R1, R5, что приводит к запиранию транзисторов T1, Т3. Контакты реле Р1, Р3 возвращаются в исходное положение. При этом отрицательно заряженные пластины конденсаторов С2, С4 подключаются к базам транзисторов Т2, T4, которые открываются. Реле Р2 и Р4 срабатывают. Их контакты Р2 и Р4 замыкают зарядные цепи конденсаторов С1, С4, и процесс повторяется.
Постоянные времени разряда конденсаторов С3—С4 в два раза меньше постоянных времени разряда С1—С2. При указанных параметрах переключение гирлянд совершается через 5 сек.
В момент включения переключателя горят лампы первой гирлянды Л1. После срабатывания реле Р1 и Р3 горят лампы . всех трех гирлянд. Через 5 сек гаснут лампы Л2 и Л3 (реле Р1 и Р3 возвращаются в исходное состояние). Вслед за этим срабатывают реле Р2, Р4, и их контакты Р2/2, P2/4 выключают лампы первой гирлянды Л1. Через 5 сек контакты реле Р2, Р4 возвратятся в исходное состояние, загорится гирлянда Л1, а вслед за этим, после срабатывания реле Р1, Р3, загораются лампы двух других гирлянд, т. е. горят все три гирлянды. Далее цикл повторяется.
В устройстве применены реле следующих типов Реле Р1—Р4 типа РМУГ PC 4523406,
К. Никитин
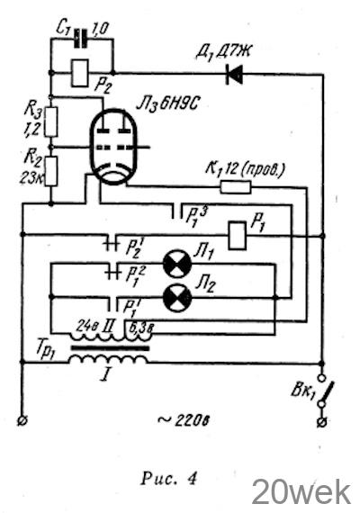
Переключатель, собранный на триоде (рис. 4), значительно проще предыдущего. Он позволяет попеpe- менно включать и выключать две ламповые гирлянды. В момент подключения к сети (Вкх) загораются лампы гирлянды Л1. Затем срабатывает реле Р1. Его контакты Р1/1 включают гирлянду Л2 и выключают Л1, контакты Р3/2 замыкают цепь накала лампы Л3. Через лампу течет анодный ток, вызывающий срабатывание реле Р2, обмотка которого включена в анодную цепь Л3. Нормально замкнутые контакты реле Р2 размыкаются, разрывая цепь питания реле Р1. Контакты последнего возвращаются в исходное положение: лампы гирлянды Л2 гаснут, а лампы Л1 загораются.

Промежуток времени между переключениями составляет 8—10 сек. Р1 — реле переменного тока, рассчитанное на напряжение 220 В, Р2 — реле со средним током срабатывания 2,5 ма.
Трансформатор Тр1 собран на сердечнике из пластин Ш-22, толщина набора 32 мм. Обмотка I содержит 1318 витков провода ПЭЛ 0,2, обмотка II—167 витков провода ПЭЛ 1,0 с отводом от 44 витка.
Ф. Федоров
