«Музыкальный» свет на елке
В. Леонтьев, Радио №10/1965, ст.37
Давно было замечено, что восприятие звуков и музыки зависит от цвета и яркости света. Делались попытки связать изменения света с мелодией гармонией и ритмом музыки.
Ниже описывается ряд устройств, разнообразных по своей сложности и эффекту, которые могут быть выполнены радиолюбителями и использованы для украшения елки во время новогодних праздников в дворцах культуры и домах отдыха, в клубах, школах и в квартирах.
Работа всех устройств основана на одном и том же принципе частотного разделения спектра звукового сигнала. Каждый из каналов модулирует свой источник света в зависимости от амплитуды звукового сигнала. Канал называют соответственно низкочастотным, среднечастотным и высокочастотным. Частоты разделения в трехканальных системах лежат в области частот 300 гц и 4 кгц.
Спектр делится на частотные каналы с помощью фильтров RC или LC; последние обладают лучшими характеристиками, т. к. не поглощают полезную звуковую мощность и обеспечивают более крутые спады граничных участков и лучшее затухание вне зоны прозрачности. Частотная характеристика подобного разделительного устройства представлена на рис. 1.

Цвет ламп, включаемых на выходе каждого канала, желательно выбирать красный (для н. ч. канала), голубой (для среднего канала) и желтый или зеленый (для в. ч. канала), но какое-либо правило в выборе цветов отсутствует. Каждый человек может применять цвета, исходя из своих особенностей цветового восприятия. При подаче на устройство музыкальной программы в зависимости от ее характеристик —динамики ритма, мелодии и гармонии, на выходе каждого из каналов получаются разные уровни электрических сигналов, которые обеспечивают соответствующую пульсирующую яркость свечения ламп разных цветов.
Самое простейшее устройство для светомузыки представляет собой обычный трехполоеный фильтр звуковых частот, аналогичный фильтрам, применяемым для разделения частот в акустических системах. Электрическая схема устройства представлена на рис. 2.

Входные зажимы устройства с помощью двухпроводной линии присоединяются к выводам вторичной обмотки выходного трансформатора усилителя. К выходным зажимам устройства подключаются красная, голубая и желтая (зеленая) гирлянды.
В качестве источника музыкальной программы можно использовать трансляционную сеть, граммофонную и магнитную запись, телепередачи. Усилитель подключается во всех случаях к зажимам громкоговорителя магнитофона, трансляционного репродуктора, граммофона и телевизора и предназначен только для «раскачки» гирляндных ламп. Звук же исходит от собственных громкоговорителей. Здесь и в других устройствах мощность усилителя должна быть не меньше 10 вт, так как от мощности усилителя зависит число ламп в гирляндах. Подключать громкоговорители для воспроизведения к входным или выходным зажимам устройства не следует, т. к. гирлянды нагружают усилитель почти до предела. Суммарная мощность лампочек гирлянд выбирается больше выходной мощности усилителя примерно в 1, 2-4-1,5 раза во избежание случайного перегорания ламп во время «фортиссимо» звукового сигнала.
Гирлянды можно изготавливать в различных вариантах:
- отдельно красную, голубую и желтую (зеленую);
- одну гирлянду с четырехпроводным кабелем с последовательным расположением цветов ламп (красная, голубая, желтая, красная, голубая и т. д.);
- одну гирлянду с четырехпроводным кабелем с гнездовым расположением цветов ламп (первое гнездо — красная, голубая, желтая лампы, во втором гнезде — то же самое и т. д.).
Электролампочки применяются малой мощности — 3,5вХ0,15 а; 13 вХ 0,15 а; 2,5 вХ0,15 а.
Сопротивления R1 R2, R3, R4 служат для регулировки по яркости свечения каждой гирлянды. Ими же можно «сдвигать окраску» световой гаммы в фиолетовую или красную области по желанию.
В этом устройстве реальная частотная характеристика фильтра будет заметно ухудшена из-за рассогласования сопротивлений нагрузки и внутреннего сопротивления источника сигнала с характеристическим сопротивлением фильтра. Сопротивления обмоток индуктивностей будут обусловливать также потери звуковой мощности.
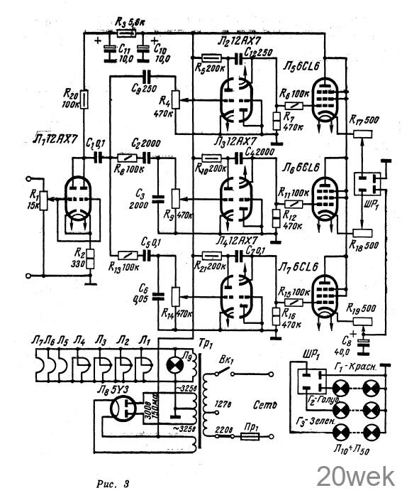
Цветомузыкальная приставка на лампах (рис. 3) позволяет получить хорошие частотные разделительные характеристики фильтра, т. к. схема предусматривает согласование источника и нагрузки с фильтром. В данном случае фильтр, выполненный на RC элементах, более прост в изготовлении и регулировке. Оконечные каскады в каждом канале собраны по схеме с общим анодом.

Режим работы каскада выбран таким, что при отсутствии сигнала на управляющей сетке лампы анодный ток очень мал и не накаливает гир- ляндные лампы. Регулировка анодного тока производится переменными сопротивлениями R17, R18, R19.
Управляются оконечные каскады выпрямленным напряжением после усиления сигнала вторыми каскадами.
Сигнал выпрямляется вторыми триодами ламп Л2, Л3, Л4 в диодном включении. На управляющие сетки ламп оконечного каскада попадает только положительное напряжение, которое и отпирает лампы.
Потенциометры R4, R9, R14 на входе вторых каскадов усилителей регулируют усиление каждого канала. С помощью потенциометра устанавливается общая яркость свечения всех гирлянд. Габариты устройства 180X150X260 мм.
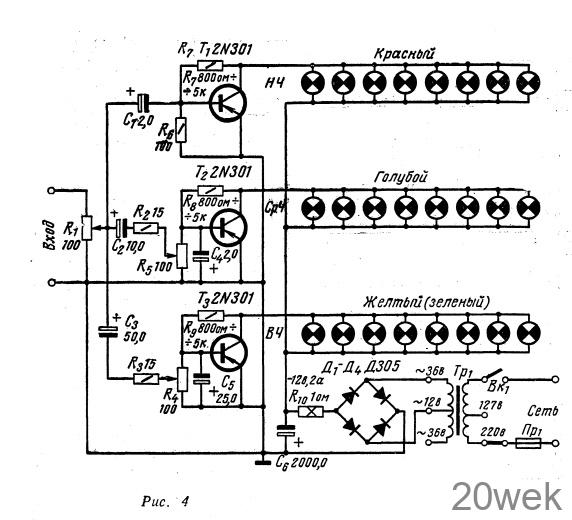
Более компактную установку можно Собрать на транзисторах. Схема такого устройства, объединяющего разделительные фильтры и усилители, представлена на рис. 4. Схема состоит из трех идентичных усилителей, собранных на мощных р—п—р триодах типа 2N301 по схеме с общим эмиттером. Гирлянды включены непосредственно в цепи коллекторов транзисторов.

Сопротивления смещения R7R8R9 выбираются такой величины, чтобы при отсутствии сигнала, ток коллектора (ток покоя) имел величину ниже той, при которой становится заметным Свечение ламп при обычном комнатном освещении. Это соответствует режиму, подобному классу В, которой интересен малым потреблением мощности от источника питания при отсутствии сигнала или при большом сигнале. Величина сопротивлений R7R8R9 — 800-5000 ом не критична, т. к. зависит от типа транзистора и напряжения на коллекторе.
Усилители подключаются к источнику сигнала через цепи связи — разделительные фильтры — R2, С2, R3, С3, С1, пропускающие .соответственно нижние, средние и верхние частоты звукового спектра.
Для раскачки устройства требуется сигнал значительно большей мощности, чем сигнал непосредственно от звукоснимателя или микрофона, поэтому необходимо снимать сигнал непосредственно с громкоговорителя любого радиоаппарата с выходной мощностью не менее 0,5 Вт.
Силовой трансформатор можно собрать на сердечнике ШЛ 16Х 25 или Ш 20X25. В первом случае первичная обмотка должна иметь 1100 витков провода ПЭЛ-1 0,35+800 витков провода ПЭЛ-1 0,27, вторичная 170 витков провода ПЭЛ—1 1,5. Во втором случае первичная обмотка — 1360 витков провода ПЭЛ-1 0,34 + 1000 витков провода ПЭЛ -1 0,27, а вторичная — 180 витков провода ПЭЛ-1 1,5.
Мощная цветомузыкальная приставка на транзисторах
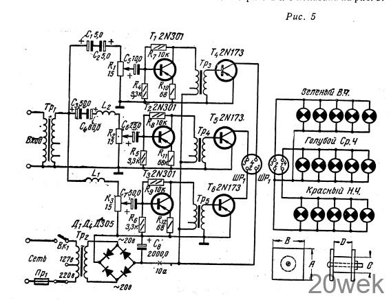
Схема обеспечивает яркость света, которая позволяет наблюдать музыкальный свет в хорошо освещенном помещении.
Схема управления светом отличается от всех предыдущих большой мощностью (150 вт). Она также включает три световых канала, каждый из которых соответствует определенной полосе звуковых частот сигнала. Сигнал снимается с выходного каскада любого звуковоспроизводящего устройства.
В целях надежности и увеличения срока службы транзисторов желательно работать на мощности ниже максимально допустимой для них.
Описываемое устройство работало по 4 часа в день свыше года без выхода из строя и не наблюдалось никаких отклонений в работе. Схема устройства (рис. 5) содержит 3 одинаковых усилителя, но каждый усилитель имеет 2 каскада — предварительный и мощный. Это увеличивает чувствительность устройства и уменьшает нагрузку источника сигнала. На входе усилителей применена более избирательная разделительная система за счет имеющихся, в ней LC — элементов. Частоты разделения каналов равны 300 и 4000 гц. В каскаде предварительного усиления работают транзисторы Т1,2,3 типа 22N301. Между каскадами для лучшего согласования установлены переходные трансформаторы Tр3 4 5. Оконечные каскады работают на транзисторах Т456 типа 2N173, имеющих коэффициент В, равный 1 или 2.

Входной трансформатор TpY служит для согласования сопротивлений источника сигнала и устройства.

В качестве устройства, управляющего яркостью свечения гирляндных ламп, можно применить кремниевые управляемые вентили КУВ. В этом случае КУВ, включенные последовательно с нагрузкой —гир- ляндными лампами, работают как простые выключатели, пропускающие ток в нагрузку, когда на управляющий электрод подается зажигающий импульс- от источника сигнала и продолжают оставаться включенным в течение всего времени, пока напряжение на аноде не приблизится к нулю.
Радиолампы и транзисторы в схемах рис. 3—5 следует заменить следующими отечественными: лампы типа 12АХ7—6Н2П, 6СL6-6П9, 6П18П, 5УЗ—5ЦЗС, транзисторы типа 2N301—П214, П4А— Д; 2N178— П207, П210, П210А.





