МОСТОВЫЕ УСИЛИТЕЛИ НЧ НА ТРАНЗИСТОРАХ
В. Носов, Радио №2/1966, ст.26
Для получения наибольшей мощности низкой частоты в нагрузке целесообразно применять усилители, собранные по мостовой схеме (мостовые усилители). Основные особенности этих усилителей следующие:
- Амплитуда напряжения на нагрузке

2. Сопротивление нагрузки Rн не имеет средней точки. В качестве нагрузки могут быть применены обычные громкоговорители или выходные трансформаторы.
3. Через сопротивление нагрузки Rн не течет ток постоянной составляющей, который, смещая звуковую катушку громкоговорителя, вызывает ухудшение акустических свойств последнего. Если для согласования с нагрузкой применяется выходной трансформатор, то его габариты уменьшаются из-за отсутствия подмагничивания постоянной составляющей, а изготовление трансформатора упрощается.
4. Мостовая схема двухтактна, поэтому для усиления мощности звуковых частот возможно применение как режима класса В, так и класса D (только для верхнего или для нижнего плеча схемы). Это обеспечивает высокие энергетические показатели мостовых усилителей.
5. Пульсации напряжения питания не влияют на выходной сигнал при условии, что напряжение сигнала в нагрузке остается ниже минимального мгновенного значения напряжения питания.
6. Передача мощности в нагрузку осуществляется всеми четырьмя транзисторами, поэтому мостовые схемы целесообразны в том случае, когда требуется большая выходная мощность:

7. Источник питания не имеет отводов, что очень удобно.
8. Максимальное действующее значение напряжения на коллекторе не превышает напряжения источника питания.
Блок-схема мостового усилителя приведена на рис. 1. Элементами У, 2, 5, 4, образующими мост, являются транзисторы, причем параметры и динамические характеристики элементов 2 и 4 (1, 3) должны быть идентичны, как и в обычной двухтактной схеме.

Сопротивление нагрузки Rн включено в диагональ «аб» моста. Напряжение источника питания Еб подается в другую диагональ —«вг». Входное напряжение сигнала НЧ UBX подается на плечи 1, 2 и 3, 4 в противофазе. Вследствие этого коллекторный ток /к транзисторов при подаче, скажем, отрицательного полупериода течет в направлении, указанном сплошной стрелкой, так как транзисторы 2, 3 открываются, а транзисторы 1, 4, ввиду инверсии входного сигнала, закрываются. При подаче положительной полуволны транзисторы 2, 3 закрываются, а транзисторы 1, 4 открываются. Ток /к течет в направлении, указанном пунктирной стрелкой. При рассмотрении работы блок-схемы рис. 1 считаем, что все транзисторы применены типа р-п-р. Временная диаграмма (см. рис. 2) поясняет работу мостового усилителя. Осциллограммы точек «а» и «б» (см. рис. 1) показаны относительно точки «г», которая соединяется с корпусом осциллографа. Предполагаем, что усилитель работает в режиме класса В.

Для получения минимума искажений фазовые сдвиги выходного сигнала, вносимые парами транзисторов 1, 4 и 2, 3, должны быть одинаковы по величине и по знаку. Эти условия выполняются автоматически, если усиливаемый сигнал имеет частоту меньше, чем fв, так как транзисторы в мостовом усилителе обычно включены по схеме с общим коллектором или с общим эмиттером. В статье «Усилители низкой частоты повышенной мощности на транзисторах» (см. журнал «Радио» № 8, 1965 г., стр. 35) были описаны две практические мостовые схемы оконечных каскадов усилителей низкой частоты, выполненные по схеме с общим коллектором. Усилители, собранные по этим схемам, способны отдать значительную мощность, но требуют применения повышающего автотрансформатора, что связано с необходимостью применять предоконечный каскад значительной мощности, чтобы осуществить раскачку выходного каскада. Вследствие этого общий кпд усилительного устройства, собранного по такой схеме, может уменьшиться. Усиление выходного каскада по мощности не превышает 20 дб.
Достоинствами мостовых усилителей, собранных по схеме с общим коллектором, являются:
а) наличие внутренней 100% отрицательной обратной связи по напряжению, значительно уменьшающей величину нелинейных и фазовых искажений выходного сигнала;
б) малое выходное сопротивление;
в) простое согласование с предварительными каскадами (если не требуется максимально возможная отдаваемая мощность), так как входное сопротивление мостового усилителя по схеме с общим коллектором достаточно велико;
г) возможность удовлетворительной работы при малых напряжениях источника питания (порядка 4,5— 6,0 в и ниже);
д) хорошая термостабилизация (в случае применения схемы с дополнительной симметрией).
Мостовые усилители, в которых транзисторы соединены по схеме с общим эмиттером, обеспечивают большое усиление, по мощности (порядка 20—30 дб). Эти усилители содержат небольшое количество деталей, просты в сборке и налаживании. Правда, выходное сопротивление таких усилителей гораздо больше, чем усилителей, выполненных по схеме с общим коллектором, но в связи с появлением в продаже громкоговорителей с сопротивлением звуковой катушки 28 ом такие усилители могут иметь бестрансформа- торный выход, что уменьшает их габариты, вес и улучшает электрические параметры. Если же у радиолюбителя отсутствуют 28-омные громкоговорители, то придется применить двухобмоточный выходной трансформатор с коэффициентом трансформации

Остальные параметры выходного трансформатора можно посчитать по формулам, приведенным в радиотехнической литературе.
Некоторым недостатком мостовых усилителей с бестрансформаторным выходом является трудность введения в выходном каскаде отрицательной обратной связи, значительно уменьшающей нелинейные искажения и увеличивающей стабильность усилителя. Однако этот недостаток может быть преодолен в усилителях, имеющих межкаскадный согласующий трансформатор с дополнительными обмотками отрицательной связи Wос1 и Wос2. Применение комбинаций р-п-р и п-р-п транзисторов, например П13—П16иП9—П11, позволяет осуществить построение простых схем мостовых усилителей, иногда обходясь без фазоинвертора.
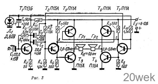
Бестрансформаторный мостовой усилитель с выходной мощностью до 1 ВТ
Основные электрические характеристики усилителя следующие: выходная мощность 1 вт при Еб = 12 в; коэффициент полезного действия = 70%; сопротивление нагрузки Rн= 40—60 ом; полоса пропускания — 50—20 000 гц; частотная характеристика равномерна; входное напряжение для получения Р~ — 1 вт, не превышает 30—40 мв; входное ротивление около 5 ком. Усилитель устойчив в работе при снижении питающего напряжения до 6 в, но выходная мощность при этом, конечно, снижается.
Принципиальная схема усилителя приведена на рис. 3. Усилитель имеет три каскада. Первый каскад собран на транзисторе П13Б (T1). Этот каскад охвачен отрицательной обратной связью по току глубиной около 6 дб за счет наличия в цепи эмиттера транзистора Т1 резистора R2, незашунтированного емкостью, а также отрицательной обратной связью по напряжению, осуществляемой посредством резистора Эта цепь отрицательной обратной связи увеличивает входное сопротивление усилителя.

Второй каскад усилителя представляет собой фазоинвертор, собранный на транзисторах П15А (T2) и П11А (Т3). Цепь смещения этих транзисторов образована делителем R4R5R10. Резистор R11, стабилитрон Д808 и конденсатор С4 осуществляют стабилизацию и развязку по постоянному и переменному току первых двух каскадов, собранных на транзисторах T1, Т2 и Т7. Связь фазоинвертора с предварительным каскадом усиления осуществляется посредством двух переходных конденсаторов С2 и С3 одинаковой емкости. Коэффициент усиления по напряжению второго каскада равен 0,7—0,9 в зависимости от В транзисторов Т2 и Т7. По параметрам В. и Iко эти транзисторы должны быть идентичны.
Выходной каскад усилителя собран по мостовой схеме на транзисторах р-п-р и п-р-п проводимости П15А (T3, T4) и П11А (T5, Т6). Выходной каскад работает в режиме класса В.
Все транзисторы выходного каскада включены по схеме с общим эмиттером. Связь каскада с фазоин- вертором гальваническая, что упрощает схему и улучшает частотную характеристику усилителя в области низких частот.
В качестве нагрузки усилителя использованы динамические громкоговорители Гр1 и Гр2 с сопротивлением звуковой катушки 28 ом. При напряжении источника питания Eб=12 в выходная мощность усилителя равна 1,0 вт. При снижении напряжения источника до 8 В выходная мощность падает примерно вдвое. Если усилитель будет использоваться при напряжении источника питания Eб=8 в и ниже, то стабилитрон Д808 следует заменить на стабилитрон типа 2С156А или 2С168А, подобрав соответственно резистор R5 так, чтобы не было нелинейных искажений типа «ступенька», а также по общему потребляемому току в режиме молчания, который не должен превышать 10 ма.
Выходную мощность описываемого усилителя можно увеличить до 5— 8 вт, поставив транзисторы Т5 и T6 в режим класса D (режим переключения), для чего базу транзистора T6 следует соединить с точкой «а» схемы через сопротивление в 1—2 ком, а базу транзистора Т5 через такое же сопротивление с точкой «б», отсоединив базы этих транзисторов от точек «в» и «г» схемы (см. рис. 3). Транзисторы Т5, T6 следует заменить на более мощные, например типа П702 или П702А. Транзисторы T3 и Т4 заменяются на транзисторы типа П201 — П203. При такой переделке выходного каскада необходимо подобрать резистор R5 по величине тока молчания (порядка 5—20 ма). Выходное сопротивление усилителя уменьшается до 10—15 ом
В. Носов, Радио №3/1966, ст.36
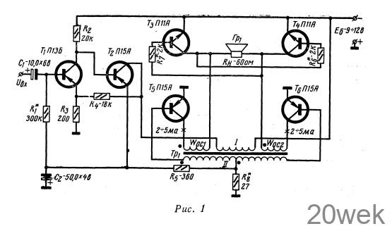
Усилитель обладает высокими для переносной аппаратуры . электрическими параметрами: полоса воспроизводимых частот 100—12 000 гц, к.п.д.—70—75%, входное сопротивление 10—12 ком, нелинейные искажения около 5%, сопротивление нагрузки Rн=60 ом. Выходной каскад работает в режиме классов В и Д. Принципиальная схема усилителя приведена на рис. 1.

Усилитель состоит из трех каскадов. Первый каскад собран на малошумящем транзисторе Т1— П13Б, второй — на транзисторе Т2— П15А. Связь между каскадами гальваническая. С целью повышения входного сопротивления и улучшения частотной характеристики в области низких частот введена отрицательная обратная связь по напряжению с коллектора транзистора Т2 на эмиттер Т1 (через резистор R4). Смещение и автоматическая установка рабочих точек всех транзисторов осуществляется резисторами R1, R5 и R8. Коллекторный ток в режиме молчания транзисторов выходного каскада (Т5, Т6), включенных по схеме с общим эмиттером и работающих в режиме класса В, определяется величиной резистора R8.
Второй каскад усилителя охвачен отрицательной обратной связью по постоянному току, подаваемой из цепи эмиттера транзистора Т2 через элементы R5, R8 и С2. В коллекторную цепь этого транзистора включена первичная обмотка I согласующего трансформатора Тр1, в качестве которого использован имеющийся в продаже согласующий трансформатор для малогабаритных приемников. Он намотан на сердечнике из пермаллоевых пластин ceчением 0,2 см2. Обмотка I содержит 2500 витков провода ПЭЛ 0,06; обмотка II — 2 X 350 витков такого же провода. Обмотки обратной связи W0С1 и WОС2 доматываются на готовый трансформатор и имеют по 6 витков провода ПЭВ 0,12. Число витков этих обмоток определяется по следующей формуле

Транзисторы T3 и Т4 нормально открыты и работают в режиме класса Д. Этот режим задается величинами резисторов R6 и R7.
Налаживание усилителя следует производить с помощью авометра, звукового генератора, электронного вольтметра и осциллографа. Как обычно, сначала подбирают режимы транзисторов по постоянному току при выключенном входном сигнале. При установке коллекторных токов транзисторов Т5 и Т6 обмотки Woc1 и Woc2 необходимо закоротить. Затем, подбирая величину резистора R8, замеряют коллекторный ток этих транзисторов. Эти токи должны быть равны 2—5 ма, отличаясь один от другого не более чем на 30%. Режимы транзисторов Т1 и Т2, как правило, устанавливаются автоматически и подгонки не требуют
После подбора режимов транзисторов по постоянному току на вход усилителя от звукового генератора подается сигнал частотой 1000 гц, напряжением 20 мв, а параллельно нагрузке RH подключаются осциллограф и электронный вольтметр. Особое внимание необходимо уделить правильной фазировке обмоток обратной связи Woc1 и Woc2. Их следует включать в схему по очереди. Правильное включение этих обмоток можно определить по показаниям электронного вольтметра. Уменьшение показаний прибора при неизменном входном сигнале свидетельствует о правильном включении этих обмоток. Резисторы R6 и R7 подбирают в зависимости от величины коэффициента усиления В транзисторов Т3—T4 (В может быть в пределах 20—100). О правильности подбора этих резисторов можно судить по отсутствию искажений при малом выходном сигнале (0,1 U~MaKC). Наибольшее неискаженное напряжение выходного сигнала U~MaKC на сопротивлении нагрузки составляет около 8 в при Еб=12 в. Источник питания должен иметь низкое внутреннее сопротивление и быть рассчитан на ток нагрузки не менее 150 ма (например, батареи КБС-Л-0,5 или типа «Сатурн»).
Выходная мощность усилителя может быть повышена до 5—8 вт. В этом случае транзисторы Т5 и T6 типа П15А необходимо заменить транзисторами П201—П203, а в качестве Т3 и T4 использовать транзисторы типа П702. Величины сопротивлений резисторов R6, R7 и R8 при этом подбираются по минимуму искажений выходного сигнала и величины коллекторного тока в режиме молчания (5—20 ма). Для питания усилителя необходим источник напряжением 12—16 в, имеющий внутреннее сопротивление не более чем 0,7 ом.
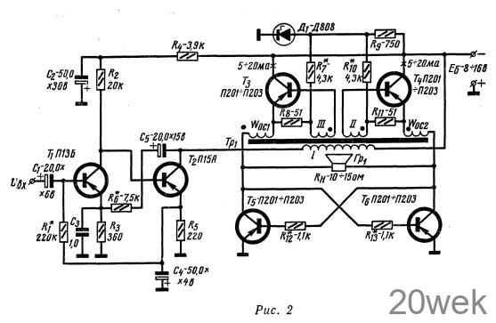
Усилитель с выходной мощностью до 10 вт
Усилитель, схема которого приведена на рис. 2, имеет большое усиление по мощности, а также достаточно широкую полосу частот (50—8000 гц). Он рассчитан на сопротивление нагрузки 10—15 ом. К.п.д. усилителя 68—70%.

Для достижения максимальной выходной мощности в 10 вт на вход усилителя необходимо подать сигнал Uвх=50—80 мв.
Выходной каскад усилителя работает в режимах классов В и Д. Частотная характеристика усилителя в области высоких частот зависит от частотных свойств транзисторов выходного каскада. Для улучшения частотной характеристики усилителя в области высоких частот в первом каскаде введена цепочка R3С3. Цепочка R4С2 предохраняет усилитель от самовозбуждения.
В коллекторную цепь транзистора Т2 включен согласующий трансформатор Тр1 имеющий две раздельные вторичные обмотки // и III.
Выходной каскад собран по мостовой схеме на однотипных транзисторах П201—П203. Все транзисторы включены по схеме с общим эмиттером. Нижнее плечо мостовой схемы, образованное транзисторами T5 и Тб, работает в режиме класса Д. Верхнее плечо, состоящее из транзисторов Т3 и T4,—в режиме класса В. Напряжение входного сигнала подается между базами и эмиттерами транзисторов Т3 и T4.
По переменному току коллекторы этих транзисторов заземлены, что позволяет установить транзисторы Т3 и T4 на один общий радиатор или даже на корпус усилителя и ( улучшить температурный режим их работы. Транзисторы Т5 и Т6 применения радиаторов не требуют. Цепи смещения, состоящие из элементов R7, R8 и R10, R11, раздельны для обоих плеч выходного каскада, что позволяет осуществить автономный подбор наивыгоднейшего режима по постоянному току.
Напряжение смещения стабилизировано стабилитроном Д808. Выходной каскад охвачен отрицательной обратной связью по напряжению, снимаемой с обмоток отрицательной обратной связи Woc1 и Woc2, намотанных на сердечнике согласующего трансформатора Тр1.
Трансформатор намотан на сердечнике из трансформаторной стали Ш12, толщина набора 15 мм. Обмотка I содержит 2000 витков провода ПЭВ 0,1; обмотки II и III— по 400 витков провода ПЭВ 0,18; обмотки обратной связи Woc1 и Woc2— по 7—10 витков провода ПЭВ 0,6. Для улучшения частотной характеристики трансформатора его первичную обмотку желательно разместить в двух-трех секциях. .
Все элементы, помеченные на схеме звездочками, подбираются при налаживании усилителя. На схеме указаны величины токов в режиме молчания.
Усилитель хорошо работает от автомобильного аккумулятора или стабилизатора напряжения, имеющего выходное сопротивление не более 0,7—1 ом. Порядок налаживания усилителя такой же, как и усилителя, собранного по схеме рис.1





