Мощный стабилизатор напряжения
Э. Просеков, Радио №9/1964, ст.43
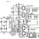
Стабилизатор, схема которого приведена на рис. 1, можно использовать как для экспериментальных работ, так и для питания какого-либо готового прибора. Его выходное напряжение можно регулировать в пределах 3—8 в при токе нагрузки до 5а. На холостом ходу стабилизатор потребляет от сети ток около 0,054 а. При токе нагрузки 5 а и напряжении на выходе 6 в кпд стабилизатора 65— 70%.

Маломощные транзисторы, диоды Д9Д, все сопротивления, конденсатор С4 и транзистор который не имеет радиатора, размещены на гетинаксовой плате размерами 155Х 43Х 1,2 мм. Радиаторами для диодов Д305 служат пластинки из алюминия 50X X 50 мм толщиной 1,5—2 мм. Диоды Д305 можно заменить диодами другого типа, рассчитанными на ток 5 а. Для охлаждения транзистора T1 применен ребристый радиатор из алюминиевого сплава, общая поверхность рассеяния которого 476 см2. При длительной работе с током нагрузки более 2,5 а при температуре воздуха более 23°С необходимо применять принудительное охлаждение. Трансформатор Tp1 и дроссель Др1 выполнены на сердечниках Ш-19, толщина набора 43 мм. Обмотки трансформатора содержат: I — 1200 витков провода ПЭВ 0,38; II—81 виток провода ПЭВ 1,35.
Дроссель намотан проводом ПЭВ 1,35 до заполнения. Сердечник дросселя собран с зазором 0,5 мм.
Для облегчения налаживания стабилизатора рекомендуется предварительно проверить транзисторы. Тз, Т4 и Т5 должны иметь В не менее 20; обратный ток коллектора 20 мка. Транзисторы T1 и Т2 должны иметь напряжение насыщения не более 1 в. При правильно выполненном монтаже изменением величины сопротивления R5 плавно изменяют напряжение на выходе стабилизатора в пределах 3—8 в.
Если выходное напряжение при этом не изменяется, поступают следующим образом. Разрывают цепь коллектор Т5—база T4. Затем Rз соединяют с выходом фильтра выпрямителя. Потенциал базы T5 при изменении величины сопротивления R5 должен меняться приблизительно от 1,4 до 2,0 в. При этом напряжение на коллекторе будет меняться в пределах 3—11 в. Если этого не происходит, необходимо заменить транзистор Т5. Убедившись в нормальной работе усилительного каскада, восстанавливают разомкнутую цепь и разрывают цепь эмиттер Т4—база Тз. Напряжение на эмиттере T4 должно меняться в пределах 3—11 в. В противном случае нужно заменить транзистор Т4. Подобным же образом поступают и с остальными каскадами. Если ток, потребляемый нагрузкой, превышает 5а, то транзистор Т1 следует заменить более мощным, например, П209—П211. В этом случае стабилизатор может дать ток до 12 а. Однако придется заново рассчитать силовой трансформатор, дроссель фильтра и увеличить поверхность радиатора





