Многоголосый электромузыкальный инструмент
К. Грундштейн, Радио №2/1965, ст. 29

Инструмент построен по обычной для многоголосых инструментов блок-схеме (рис. 1). Он состоит из двенадцати тон-генераторов, клавиатуры, предварительного усилителя НЧ, темброблока, блока вибрато, усилителя мощности и блока питания.

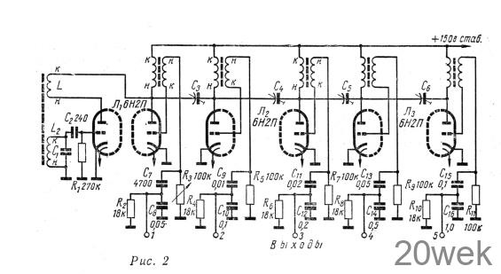
Тон-генераторы. Конструктивно все тон-генераторы выполнены в виде 12 отдельных блоков, каждый из которых настроен на свою частоту, соответствующую определенной ноте во всех пяти октавах инструмента. Схема одного из блоков тон-генератора приведена на рис. 2. Он состоит из одного задающего генератора и пяти делителей частоты, собранных по схеме блокинг-генераторов на трех двойных триодах типа 6Н2П.

Задающий генератор собран на одном триоде лампы 6Н2П по схеме с индуктивной обратной связью в цепи анода. Контурная катушка L1 размещена в ферритовом горшкообразном сердечнике СБ-3 (оксифер Ф-2000) и имеет 700 витков провода ПЭВ 0,09. Катушка связи L2 размещена в этом же сердечнике и содерит 30 витков того же провода. Добротность катушки L1 на частоте 1000 гц около 100, что обеспечивает высокую стабильность настройки инструмента.
Все 12 блоков тон-генераторов размещены в корпусе инструмента так, что контурные катушки задающих генераторов находятся у нижней вентиляционной щели. Это предотвращает нагревание катушек от ламп При аккуратно сделанном монтаже задающего генератора инструмент при комнатной температуре сохраняет правильную настройку в течение года и больше. Настройка задающего генератора производится сердечником контурной катушки. Контурные конденсаторы задающих генераторов имеют величину от 0,01 мкф в первом блоке (C1) до 0,2 мкф в последнем.
Все блокинг-генераторы инструмента по схеме идентичны и отличаются только величинами емкостей разрядной цепочки. Каждый из них выполнен на одном триоде лампы 6Н2П. Трансформатор блокинг-генератора намотан на сердечнике Ш6 X 6 проводом ПЭВ 0,12 и содержит 2X200 витков. Можно использовать сердечники больших размеров, для этой цели подходит унифицированный трансформатор блокинг-генератора строк от телевизора. Сердечники трансформаторов можно выполнить из обычной стали, так как это на работу инструмента не влияет.
Блокинг-генератор дает на выходе напряжение пилообразной формы которое снимается с емкостного делителя С8—С7. Емкостной делитель используется для того, чтобы исключить влияние внешних цепей на синхронизацию и частоту задающего генератора. Делитель 1 : 10 обеспечивает достаточную амплитуду пилообразного напряжения на выходе генератора и одновременно бесперебойную работу генератора даже при короткозамкнутом выходе. Сопротивление R2, разное 18кОм, служит для нейтрализации статических зарядов на конденсаторе С8, которые вызывают щелчки при игре на инструменте.
Следующая ступень выполнена аналогично, только с постоянной времени RC-цепсчки в два раза большей. Следовательно, генерируемая частота будет ниже в два раза (то есть на одну октаву).
Синхронизация перзого блокинг- генератора достигается благодаря непосредственной связи с задающим генератором. Остальные блокинг- генераторы связаны с задающим генератором через подстроечные конденсаторы С3 — С6. Так как частота блокинг-генератора не регулируется, для достижения синхронизма необходимо иметь возможность регулировать связь с задающим генератором. Самый простой способ получения такой регулируемой связи — использование обычных подстроечных конденсаторов типа КП КМ (6—25 пф). Таким образом, первый блокинг- генератор настраивается в синхронизм с задающим генератором переменным сопротивлением R3, а каждый следующий (на октаву ниже) — подстроечным конденсатором. Настройка генераторов в синхронизм не требует никакой аппаратуры и занимает 15—20 мин для всего инструмента. Повторная частичная регулировка синхронизации необходима только при смене ламп и то не всегда.
В процессе эксплуатации настройка инструмента производится редко и только в каскадах задающих генераторов. Это значит, что практически требуется настроить только одну октаву, остальные 4 настроятся автоматически. Конструктивно каждое шасси тон- генераторов (рис. 3) крепится на общей металлической раме двумя винтами и присоединяется к остальным узлам при помощи девяти выводов, из которых один — общий — минус, два — накал ламп, один+150 в, для питания анодов ламп, остальные пять —выходы генераторов.
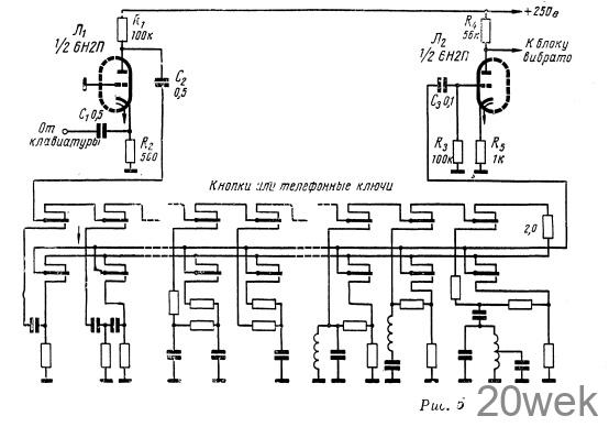
Клавиатура. Лучше всего использовать готовую клавиатуру от пианино, рояля или другого клавишного музыкального инструмента. Если у радиолюбителя нет такой возможности, клавиатуру можно изготовить самому. Устройство и электрическая схема клавиатуры показаны на рис. 4. В клавиатуре всего 61 клавиша. Все они удерживаются в нормальном положении при помощи пружин. Контактная система клавиатуры состоит из одной длинной не окисляющейся проволоки диаметром 0,5 мм и небольших поперечных проволочек из того же материала, расположенных под каждой клавишей. Длинная проволока является собирательной шиной, а к маленьким проволочкам подводятся все выходы тон-генераторов. Такая конструкция контактов позволяет получить минимальную емкость между разомкнутыми контактами, что очень важно для предотвращения «жужжания» и полного отсутствия щелчков при игре.

Предварительный усилитель и темброблок. Предварительный усилитель (рис. 5) поднимает уровень сигнала, приходящего с собирательной шины клавиатуры до уровня, необходимого для предотвращения фона в темброблоке. Усилитель выполнен по схеме с заземленной сеткой и представляет очень низкое нагрузочное сопротивление для собирательной шины клавиатуры, что тоже очень важно для предотвращения фона.

Темброблок представляет собой систему из 12 фильтров с разными характеристиками, которые могут включаться в канал сигнала по одному или в комбинациях. При. помощи фильтров темброблока можно ослабить или выделить различные части широкого спектра сигнала блокинг-генераторов и тем самым добиться разнообразных тембров звучания инструмента. В схеме, приведенной на рис. 5, даются только примеры тембровых фильтров, их может каждый конструктор собрать по своему вкусу. Существует три группы фильтров — дифференцирующие (конденсаторы последовательно, сопротивления параллельно), дающие очень резкий, звенящий тембр; интегрирующие (сопротивления последовательно, конденсаторы—параллельно), дающие более или менее мягкий характер звука, и резонансные (из катушек индуктивности и конденсаторов в различных комбинациях), которые дают самые разнообразные оттенки тембров. Более красивые тембры дают более сложные схемы фильтров. После каждого фильтра необходимо ставить делитель из сопротивлений, при помощи которого выходной уровень сигнала после фильтра доводится до такого значения, чтобы все тембры звучали примерно с одинаковой громкостью.
Так как темброблок является пассивным элементом со значительным ослаблением сигнала, за ним следует еще один каскад усиления, собранный по обычной схеме на одном из триодов лампы 6Н2П.
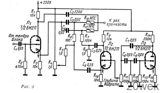
Блок вибрато. Из-за высокой добротности катушки задающего генератора пришлось отказаться от обычного способа получения эффекта вибрато — периодического изменения смещения лампы задающего генератора. В этом случае изменение смещения лампы вплоть до срывания колебаний не вызывает заметного изменения частоты генератора. В инструменте для вибрато используется принцип фазовой модуляции выходного сигнала инструмента частотой 64-8 гц от генератора Еибрато. Для этой цели применяется фазовращающая мостовая схема (рис. 6), в которой управляющими элементами являются два варистора типа НПС с начальным сопротивлением 50-4 ч-100 ком. Чтобы варисторы работали нормально, на них необходимо подать смещение (иначе получается удвоенное искаженное вибрато). Величину смещения устанавливают потенциометром по максимальной глубине неискаженного вибрато. Если требуется получить очень глубокое Вибрато, необходимо поставить еще одну аналогичную ступень, которая управляется от того же генератора вибрато

Надо отметить, что предлагаемую схему вибрато с большим успехом можно применять в адаптеризован- ных музыкальных инструментах, например электрогитарах, так как частотное вибрато намного красивее, чем иногда применяемое амплитудное вибрато.
Усилитель мощности и блок питания
После блока вибрато сигнал через педальный регулятор громкости поступает на вход усилителя мощности. В педальном регуляторе громкости можно использовать обычный потенциометр типа СП, предварительно смазав ось и проводящий слой чистым вазелином, если не удается достать более устойчивый на износ регулятор громкости сопротивлением 1004-500 ком. Усилителем мощности может быть любой высококачественный усилитель НЧ с хорошей акустической системой, воспроизводящей полосу частот от 50 гц до 10 кгц. Искажения должны быть не более 1%, а выходная мощность не менее 154-20 вт, интермодуляционные искажения должны почти полностью отсутствовать. Мощный усилитель желательно использовать даже тогда, когда не требуется большой громкости, с таким усилителем можно получить хорошее неискаженное звучание инструмента.
Блок питания может быть любым, важно только, чтобы он давал напряжение 6,3 6 для накала ламп при токе около 14 а и хорошо отфильтрованное анодное напряжение 2504- 270 в при токе около 80 ма (без учета усилителя мощности).
Для питания тон-генераторов используется электронный стабилизатор на лампах типа СГ2-С, 6Н2П и 6ПЗС, который обеспечивает напряжение 150 в со стабильностью ±0,5% при изменении напряжения сети ±15% (рис. 7).

Налаживание инструмента Собранные блоки тон-генераторов желательно предварительно настроить до установки их в корпус инструмента. Для этого к блоку подключают питание, ставят сердечник настройки в среднее положение и находят такую величину емкости контурного конденсатора, при которой частота задающего генератора приблизительно равна частотам, приведенным в таблице 1. Точные данные емкостей контурных конденсаторов трудно дать из-за того, что у радиолюбителей могут оказаться ферриты с другой магнитной проницаемостью, чем у автора. Припаяв подобранный контурный конденсатор, потенциометром R3 приводят . первый блокинг-генератор в синхронизм с задающим генератором. Далее при помощи подстроечных конденсаторов добиваются, чтобы каждый следующий блокинг-генератор давал частоту на октаву ниже. Слушать можно через головные телефоны, подключенные к соответствующему выходу.

После окончательной сборки потенциометром «установление выходного напряжения» на выходе стабилизатора устанавливают напряжение -±150 в.

Далее в верхнем положении потенциометра «глубина вибрато» устанавливают смещение варисторов. При выведенном потенциометре вибрато после 15-4-20 мин прогрева производят точную настройку инструмента по одному из методов настройки музыкальных многоголосых инструментов с темперированным строем. После этого остается подобрать наиболее приятные тембры звучания и работу по налаживанию инструмента можно считать законченной
Радио №5/1966, ст.62






