Микро приемники
М. Лихачев, В. Сергеев, Радио №5/1965, ст. 49
Микроприемники «Эра-2М» и «Маяк-1» рассчитаны на прием программ местных радиовещательных станций в диапазоне длинных волн (150—408 кгц) и в радиусе около 200 км. Прием сигналов производится на внутреннюю магнитную антенну. Максимальная чувствительность (по полю) приемников не хуже 50 мв/м. Избирательность по соседнему каналу (при расстройке на ±30 кгц) не хуже 10 дб. Номинальная выходная мощность усилителей НЧ приемников 0,3 мВт, нагружены они на малогабаритные телефоны типа ТМ—2М. Каждый из названных приемников питается от одного аккумулятора типа Д—0,06 напряжением 1,25 в, вмонтированного в выключатель питания. Зарядка аккумуляторов производится от сети переменного тока напряжением 127 и 220 в при помощи стандартного зарядного устройства типа ЗУ—3. Средняя продолжительность непрерывной работы приемников от одного аккумулятора 10—15 час. Размеры приемника «Эра—2М» — 39 X 43 X 8 мм, а «Маяк—1» — 38 X 49 X 8 мм. Весят приемники по 30 г каждый. Приемники имеют всего по два органа управления: ручку выключения питания и ручку настройки на станцию. Приемник «Эра—2М» оформлен в виде серьги, которая подвешивается на ухо, а приемник «Маяк—1» в виде броши, которая пристегивается к одежде.
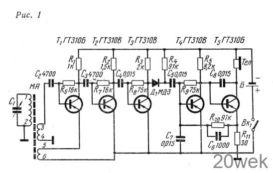
Оба приемника выполнены по одной и той же схеме прямого усиления (рис. 1) на пяти микротранзисторах типа ГТ-310Б и ГТ-310В, причем три транзистора Т1, Т2, Т3 работают в усилителе ВЧ, и два Т4, Т5 в усилителе НЧ. Детектор выполнен на диоде типа МД—3. При монтаже приемников использовались ниточные сопротивления типа СЗ-З и микроконденсаторы типа К-10-У-З. Монтаж приемников выполнен на печатных платах из фольгированного стеклотекстолита, причем ниточные сопротивления приклеиваются к проводникам печатной платы с помощью специальной токопроводящей пасты. В целях герметизации и надежного крепления плата помещена в специальную коробочку из полистирола.

Приемник «Микро» рассчитан на работу в средневолновом (525— 1605 кгц) и длинноволновом (150— 408 кгц) диапазонах волн. Чувствительность приемника (по полю) при работе с внутренней магнитной антенной 35 мв/м. Отношение сигнала к шуму при напряженности поля 50 мв/м не хуже 20 дб. Избирательность по соседнему каналу (при расстройке ±30 кгц) на длинных волнах не менее 10 дб, а на средних не менее 6 дб. Номинальная выходная мощность усилителя НЧ не менее 50 мквт. Приемник «Микро» питается от такого же аккумулятора, как приемники «Эра-2М» и «Маяк-1» и потребляет от источника питания ток не более 5 ма. Размеры приемника 45 X 30X 13 мм, вес его 27 а. Приемник «Микро» имеет три органа управления: ручку выключения питания, ручку настройки, и переключатель диапазонов. Также как и приемник «Маяк-1», приемник «Микро» выполнен в виде броши.

Приемник «Микро» собран по схеме прямого усиления (рис. 2) на шести транзисторах типа ГТ-310Б и ГТ 310В.

Схема этого приемника мало чем отличается от рассмотренной выше. Приемник «Микро» имеет три каскада усиления ВЧ и два каскада усиления НЧ. Детектор выполнен по триодной схеме на транзисторе Т4. Нагружен приемник на телефоны ТМ-2М. В конструктивном отношении приемник «Микро» значительно отличается от приемников «Эра-2/И» и «Маяк-1». В приемнике «Микро» на плату из ситалла, отполированную до высокого класса чистоты, при высоком вакууме через специальные высокоточные трафареты наносят шесть слоев различных материалов, из которых образуются сопротивления, коммутационные проводники, контактные площадки, обкладки конденсаторов и изоляция. Транзисторы смонтированы на отдельной плате из фольгированного стеклотектолита. В целях лучшей герметизации обе платы пропитаны изоляционным лаком. Внешний вид всех перечисленных приемников, а также их монтаж, показаны на вкладке. В настоящее время приемники «Эра-2М» уже поступили в продажу





