МАЛОГАБАРИТНАЯ ТРАНЗИСТОРНАЯ РАДИОСТАНЦИЯ
И. Васильев, В. Терлецкий, Радио №9/1965, ст. 21

Схема. Принципиальная схема радиостанции приведена на рис. 1. Приемник построен по супергетеродинной схеме. Первый каскад его (усилитель ВЧ) собран по схеме с общим эмиттером на транзисторе П411 (Т1). На входе приемника включен контур L1C2, настроенный на принимаемую частоту. Антенна подключена через конденсатор небольшой емкости С1 к отводу катушки L1. Нагрузкой коллектора транзистора T1 служит контур L2C4, настроенный, как и входной, на принимаемую частоту. Напряжение сигнала, усиленное первым каскадом, с отвода катушки L2 через конденсатор С5 подается на базу преобразовательного каскада, собранного на транзисторе П411 (T2). Гетеродин с кварцевой стабилизацией частоты выполнен на транзисторе П417 (T3). В коллекторной цепи транзистора Т3 установлен контур L3C10, настроенный на основную частоту кварца. Напряжение гетеродина вводится в цепь эмиттера транзистора Т2 при помощи катушки связи L4. Цепь коллектора транзистора Т2 нагружена сопротивлением R3 и четырехконтурным фильтром сосредоточенной селекции (ФСС), состоящим из катушек и конденсаторов L5C15, L6C17, L7C19, L8C21, С16, С18, C20. Для сужения полосы пропускания связь между контурами выбрана слабой. ФСС настроен на промежуточную частоту приемника.

Напряжение ПЧ, выделяемое в коллекторной цепи T2, с части катушки L8 через ФСС и разделительный конденсатор С22 поступает на апериодический каскад усиления ПЧ, собранный на транзисторе П417 (T4).
С сопротивления R7 нагрузки коллектора транзистора Т4 через конденсатор С25 напряжение поступает на второй каскад усиления ПЧ, собранный по каскодной схеме на транзисторах П417 (Т5, T6). Применение каскодной схемы позволило значительно снизить влияние проходной емкости база транзистора Т5 — коллектор транзистора T6. Благодаря этому удалось получить во втором каскаде ПЧ большое усиление и отказаться от применения нейтрализации.
С помощью катушки связи L10 напряжение подается на детектор. Детектор приемника — последовательный на диоде Д311 (Д1). Напряжение НЧ, полученное в результате детектирования, через электролитический конденсатор С33 подается на усилитель НЧ. Напряжение АРУ снимается с сопротивления нагрузки детектора R15 и через R16C32 подается в базовую цепь апериодического каскада усиления ПЧ. Усилитель НЧ приемника—двухкаскадный на транзисторах П16Б (T7, Т8). Нагрузкой выходного каскада НЧ служит низкоомный (60 ом) телефон (Тлф) от слухового аппарата.
Для устранения возможного самовозбуждения высокочастотной части приемника по цепи питания последовательно в нее включен фильтр, состоящий из дросселя Др1 и конденсаторов С7, С23
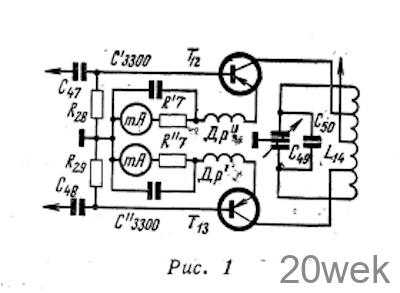
Передатчик содержит четыре каскада: задающий генератор, два удвоителя частоты, из которых второй является фазоинвертором, и двухтактный выходной каскад.
Задающий генератор выполнен с кварцевой стабилизацией частоты на транзисторе П403 (T9). Нагрузкой коллектора транзистора T9 является контур L11, С38, С37, настроенный на основную частоту кварца Kв2, С коллектора транзистора Т9 через разделительный конденсатор С39 напряжение подается на базу транзистора П403 (T10), работающего в каскаде первого удвоителя частоты. Контур L12С41 в коллекторной цепи транзистора Т10 настроен на вторую гармонику кварца Kв2. Для обеспечения необходимой добротности контура L12C41 он включен в коллекторную цепь неполностью.
Колебания удвоенной частоты с коллектора транзистора T10 подаются на базу следующего удвоителя частоты, собранного на транзисторе П417 (T11). Нагрузкой коллектора Т11 является контур L13С44, настроенный на четвертую гармонику кварца. Катушка L13 имеет три отвода. Средний отвод заземлен по переменному напряжению через конденсатор С46. К этому же отводу подведено питание коллекторной цепи транзистора Т11. Ввиду того, что средняя точка контура L13С44 имеет нулевой потенциал по ВЧ относительно шасси, то ВЧ напряжения на двух других отводах контура будут в противофазе. Эти напряжения через конденсаторы С47, С48 подаются на базы транзисторов выходного каскада. Таким образом, второй удвоитель, кроме основного назначения, выполняет функции фазоинвертора.
Выходной каскад передатчика — двухтактный на транзисторах П417 (T12, Т13), работающих с углом отсечки около 80°. В коллекторную цепь этого каскада включен контур L14, С49, С50. При помощи конденсатора С49 (желательно типа «бабочка») этот контур можно настраивать на рабочую частоту. Питание коллекторных цепей транзисторов Т12, T13 подводится к средней точке контура L14, С49, С50. Связь передатчика с антенной — индуктивная с помощью катушки связи L15, расположенной между двумя секциями катушки L14. Для уменьшения асимметрии плеч из-за разброса параметров транзисторов T12, T13 в эмиттерную цепь этих транзисторов включен дроссель Др3, с помощью которого осуществляется отрицательная обратная связь по переменному Току в выходном каскаде и повышается входное сопротивление этого каскада. Дроссель наматывается манганиновым проводом. Благодаря этому он обладает активным сопротивлением, что дает возможность получить в каскаде на транзисторах Т12Т13 отрицательную обратную связь по постоянному току.
Желательно, чтобы усиление и входные сопротивления транзисторов T12 и Т13 на частоте 30 Мгц были одинаковыми. Различие по В на постоянном токе большого значения не имеет. Если В на рабочей частоте разные, То подбором конденсатора С45 устанавливают неравные базовые токи возбуждения так, чтобы импульсы коллекторных токов транзисторов Т12, T13 были равны между собой. . В передатчике применена коллекторная модуляция. Модулятор передатчика трехкаскадный. Его вход рассчитан на подключение динамического микрофона ДЭМШ-1. Первый каскад модулятора выполнен на транзисторе П16Б (T14) по схеме с заземленным эмиттером. Микрофон подключен на вход модулятора через фильтр Др4, С51 для предотвращения проникания напряжения высокой частоты от передатчика в модулятор. Желательно в первый каскад подобрать малошумящий транзистор. Предоконечный каскад собран по трансформаторной схеме на транзисторе П16Б (T15). Коррекция частотной характеристики каскада достигается путем подачи напряжения отрицательной обратной связи через конденсатор С56.
Двухтактный оконечный каскад выполнен по обычной схеме на транзисторах П16Б (T1б, Т17). Сопротивление R39, установленное в эмиттерной цепи транзисторов T16T17, осуществляет отрицательную обратную связь, которая симметрирует плечи оконечного каскада. Выход модулятора соединен с выходным каскадом передатчика. Генератор тонального вызова собран по схеме мультивибратора на транзисторах П5Д (T18, T19). В эмиттерную цепь этих транзисторов включена кнопка КН1, При нажатии кнопки на мультивибратор подается питание. Напряжение с частотой 1000 гц с выхода мультивибратора подается на базу транзистора Т15
Радио №10/1965, ст.19
Конструкция и детали. Радиостанция собрана в корпусе размерами 130 X 80 X 27 мм из посеребренной красной меди толщиной 2 мм. Конструкция корпуса видна на фотографии и чертеже (см. 2—3 страницы вкладки). Корпус разделен перегородкой толщиной 2 мм на два неравных отсека. В меньшем отсеке размещен приемник, а в большом — передатчик. Для предотвращения взаимного влияния каскады и блоки радиостанции монтируются в отдельных ячейках, границами которых являются перегородки из красной меди толщиной 0,3 мм. Расположение перегородок показано на чертеже на вкладке. Перед установкой перегородок в них необходимо сделать отверстия для проводников, соединяющих между собой монтажные платы.


С торцовых сторон корпуса делают отверстия для высокочастотных разъемов, оси конденсатора С49, семиконтактного разъема питания, телефонных и микрофонных гнезд и кнопки вызова. Корпус радиостанции закрывается с двух сторон крышками, которые прикрепляются винтами. Снаружи корпус покрыт молотковой эмалью.
Монтаж радиостанции выполнен печатным способом. Чертежи плат в масштабе 1 : 1 и расположение деталей на них показаны на третьей странице вкладки. Платы печатного монтажа изготовляют любым способом и. укрепляют в ячейках при помощи пайки. Конструкция фильтра сосредоточенной селекции (ФСС) показана на третьей странице вкладки. Плату, на которой укрепляются контуры, изготавливают двухслойной из органического стекла и посеребренной красной меди. Оба слоя склепывают между собой. В плате из органического стекла просверливают отверстия диаметром 0,6 мм, куда горячим паяльником запрессовывают штырьки, изготовленные из проволоки диаметром 0,8 мм. Эти штырьки предназначены для припаивания выводов катушек ФСС, с одной стороны, а с другой — конденсаторов С15—C21— Отверстия в плате из меди должны быть просверлены сверлом большего диаметра, чтобы штырьки не замыкались через эту плату. В углах платы из органического стекла сделаны вырезы для того, чтобы плату ФСС можно было укрепить в корпусе радиостанции. Экранные перегородки между контурами ФСС делают высотой 16мм в отличие от всех остальных перегородок, имеющих высоту 27 мм.
В радиостанции применены малогабаритные детали: сопротивления типа МЛТ-0,25, конденсаторы в усилителе НЧ, цепи АРУ и модулятора типа ЭМ, а в ВЧ части — КТМ и КПС. Данные контурных катушек приведены в табл. 1, а трансформаторов — в табл. 2. Дроссели ВЧ Др1 и Др2 содержат по 45 витков провода ПЭВ-1 0,1 мм, намотанных виток к витку на сопротивлениях МЛТ-0,5 величиной не менее 51 ком. Дроссель Др3 изготовляют следующим образом: отмеряют такой отрезок манганинового провода марки ПЭШОМ диаметром 0,15 мм, чтобы он имел сопротивление 4 ома, и наматывают этот провод внавал на сопротивление МЛТ-0,5 величиной не менее 10 ком.

Транзисторы Т1 и Т2 типа П411 вставляют в отверстия на печатной плате монтажа. К выводам электродов этих транзисторов припаивают отрезки жесткого провода диаметром 0,5 мм, которыми транзисторы присоединяют к печатной плате. Пайку электродов транзисторов следует производить с особой осторожностью. Необходимо обеспечить достаточный отвод тепла от них.

Налаживание радиостанции производят с помощью звукового генератора ГЗ-2 (ЗГ-10), осциллографа С1-1, УКВ генератора ГЗ-8 (ГМВ), генератора стандартных сигналов Г4-1А (ГСС-6А), лампового вольтметра ВК7-7 и авометра ТТ-3 или аналогичных приборов. Рекомендуется изготовить макет радиостанции и произвести предварительное налаживание на этом макете. Перед налаживанием необходимо выбрать рабочие частоты радиостанции с таким расчетом, чтобы они отстояли друг от друга не менее чем на 0,64-0,7 Мгц. Промежуточная частота приемника порядка 2,4 Мгц. Точное значение промежуточной частоты определяют, учитывая частоту кварца в гетеродине приемника. Налаживание приемника начинают с усилителя НЧ, устанавливая режим транзисторов Т7 и Т8 по постоянному току с помощью сопротивлений R21 и R18. При выходном напряжении 0,6 в на коллекторе транзистора чувствительность со входа усилителя НЧ на частоте 1000 гц должна составлять 2—3 мв
Налаживать усилитель ПЧ следует с последнего каскада. Транзисторы Т5 и Т6 связаны по постоянному току таким образом, что практически подгонка их режимов не требуется. На генераторе ГСС-6 устанавливают частоту, равную промежуточной частоте приемника, и напряжение величиной 350 мкв с модуляцией 30%. Это напряжение через конденсатор емкостью 30 пф подают на базу транзистора Т5. Вращением сердечника катушки L9 добиваются наибольших показаний вольтметра, присоединенного к коллектору транзистора Т8.
В апериодическом каскаде усилителя ПЧ необходимо подобрать режим по постоянному току транзистора Т4 с помощью сопротивления R6. Затем, отсоединив конденсатор С22 от базы транзистора T4, подсоединяют к ней через конденсатор емкостью 30 пф ГСС-6 и проверяют чувствительность усилителя ПЧ, которая должна составлять 55—65 мкв при указанной выше величине напряжения на коллекторе транзистора T8 (0,6 V).
Для настройки ФСС подсоединяют обратно отключенный ранее конденсатор С22 и присоединяют выходной кабель ГСС-6 к базе транзистора Т2, отсоединив конденсатор С5 и гетеродин. Подгонку режима по постоянному току транзистора Т2 практически производить не требуется ввиду того, что в эмиттерной цепи стоит сопротивление R4, осуществляющее отрицательную обратную связь по постоянному току. Для настройки ФСС необходимо подать от ГСС напряжение промежуточной частоты величиной 100—200 мкв с глубиной модуляции 30% и вращать сердечники катушек ФСС до получения резонанса всех четырех контуров.
Настройку следует повторить несколько раз, наблюдая, чтобы напряжение на телефонах не превышало 0,6 V. Если оно будет больше, cледует уменьшить напряжение, подаваемое от ГСС. При окончании настройки это напряжение не должно превышать 25 мкв
Затем приступают к налаживанию гетеродина. Сначала проверяют наличие генерации путем измерения ламповым вольтметром напряжения на коллекторе транзистора T3. Подбором конденсаторов С11, С12 добиваются устойчивой генерации.
Налаживание усилителя ВЧ начинают с установления режима транзистора Т1 по постоянному току путем подбора сопротивления R1. После этого подсоединяют к антенному гнезду УКВ ГСС, устанавливают на его выходе напряжение с частотой, на которую настроен вход приемника, величиной 10—20 мкв, глубиной модуляции 30%, и, вращая сердечники катушек L1 и L2, настраивают в резонанс контуры L1С2 и L2 С4. При необходимости в усилитель ВЧ вводят нейтрализацию путем подключения конденсатора емкостью 0,5—2 пф параллельно сопротивлению R1. После этого следует подобрать оптимальную связь преобразователя с гетеродином путем перемещения по каркасу катушки связи L4.
После полной настройки приемника можно приступить к монтажу его печатных плат, используя при этом детали макета. Когда все печатные платы будут готовы, их устанавливают на место в корпус радиостанции, закрывают нижнюю крышку корпуса и подстраивают контуры ПЧ и ВЧ. Чувствительность налаженного приемника с антенного входа должна быть не хуже 4—6 мкв. Точную настройку приемника на частоту корреспондента производят по передатчику, прием сигналов которого будет осуществляться. Налаживание модулятора передатчика ничем не отличается от налаживания усилителя НЧ приемника. Собрав макет модулятора, подбирают у транзисторов T14, Т13, T16, Т17 режимы по постоянному току, изменяя величину сопротивлений R30 и R34. Транзисторы T16 И T17 следует подобрать с близкими параметрами. Ток покоя оконечного каскада составляет 2—3 ма (на принципиальной схеме ток указан при наличии сигнала). Работу модулятора проверяют, нагружая вторичную обмотку трансформатора Тр2 сопротивлением величиной 240 ом. Если при подаче на микрофонные гнезда напряжения звуковой частоты величиной 1,5 мв или менее на сопротивлении 240 ом будет развиваться напряжение 4 в (или более), то модулятор работает нормально. Генератор тонального вызова не требует налаживания и при исправных транзисторах сразу начинает работать.
Затем собирают макет ВЧ части передатчика, поставив первоначально конденсатор С39 емкостью 10 пф. Проверку наличия генерации и наладку задающего генератора производят так же, как гетеродина приемника. После этого налаживают первый удвоитель. Вращая сердечник катушки L12, настраивают контур L12 С41 в резонанс, контролируя настройку ламповым вольтметром, подключенным через конденсатор 30 пф к коллектору транзистора T10 Увеличивая емкость конденсатора С39, устанавливают такой базовый ток транзистора, при котором его коллекторный ток достигает 10— 13 ма.
Второй удвоитель первоначально слабо связывают с первым удвоителем и вращением сердечника катушки L13 контура L13 С44 добиваются резонанса. Увеличивая связь с первым удвоителем, устанавливают коллекторный ток транзистора равный 14—17 ма. При увеличении емкости конденсаторов связи необходимо в предыдущем каскаде подстроить колебательный контур. Перед налаживанием оконечного каскада передатчика уменьшают его связь с вторым удвоителем, установив конденсаторы С47 С48 меньшей емкости. Параллельно катушке связи L15 присоединяют безындукционное сопротивление 75 ом и ламповый вольтметр. Для возможности контролирования токов транзисторов Т12, Т13 изменяют их эмиттерную. цепь так, как показано на рис. 1. Дроссели Др’ и Др» наматывают проводом ПЭЛШО 0,15 мм на сопротивлениях МЛТ-0,5 величиной не менее 10 ком с таким же количеством витков, как и дроссель Др3. Сопротивления R’ и R» наматывают манганиновым проводом. Включив питание оконечного каскада, вращением ротора конденсатора С49 настраивают контур L14 С49 С50 по наименьшему коллекторному току, контролируемому показаниями миллиамперметра. Увеличивая емкости конденсаторов С47 С48, добиваются обозначенной в принципиальной схеме величины тока через транзисторы T12 T13. После этого подбирая конденсатор С45 и подстраивая контур L13 С44, контролируют токи в цепях эмиттеров транзисторов Т12 Т13, добиваясь, чтобы эти токи были равными. Если уравнять токи не удается, то следует подобрать другие транзисторы, при которых это окажется возможным. Установив равные токи, восстанавливают эмиттер- ные цепи так, как это показано на принципиальной схеме, включив дроссель Др3. После налаживания оконечного каскада передатчика переменное напряжение на нагрузочном сопротивлении 75 ом, включенном параллельно катушке L15, должно быть равно 2,7—2,75 в.

Когда налаживание макета передатчика окончено, монтируют его детали на печатных платах, укрепляют платы в корпусе и производят подстройку контуров. Для удобства пользования радиостанцией в качестве антенн можно применять два отрезка провода. Следует иметь в виду, что эффективность такой антенны значительно меньше эффективности четвертьволнового штыря.
При налаживании радиостанции можно рекомендовать ГИР, применение которого дает возможность определять собственную резонансную частоту контуров и устранять случайную настройку контура на какую-либо другую частоту или гармонику.
При подборе транзисторов для ВЧ каскадов радиостанции желательно проверять их усилительные свойства на высокой частоте. Работа радиостанции была опробована в эфире с корреспондентами UW3DU, UA3ACP. В качестве антенн использовались четвертьволновые штыри.





