МАГНИТОФОН В АВТОМОБИЛЕ „ВОЛГА»
Ю. АЛЕКСЕЕВ, Радио №5/1966, ст.34
Магнитофон, собранный на базе магнитофонной панели «Эльфа- 17», легко размещается под передней панелью автомобиля симметрично оси автомобильного приемника и нисколько не стесняет ни водителя, ни сидящего рядом с ним пассажира (см. фотографию и рис. 1).

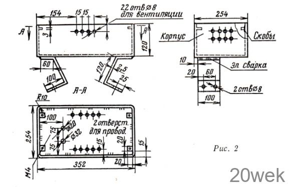
Перед установкой в автомобиль магнитофонную панель «Эльфа-17» без каких-либо конструктивных изменений следует заключить в металлический корпус из 1,5-мм стали (рис. 2). Корпус окрашивается под цвет автомобильной панели и крепится к днищу кузова автомобиля четырьмя болтами Мб. Для уменьшения вибрации магнитофона при работающем двигателе на стоянке и в пути его корпус прикрепляется к днищу кузова через резиновые прокладки толщиной 5 мм.

Электрически магнитофонная панель «Эльфа-17» (см. «Радио» № 6 за 1961 г.) блокируется с низкочастотным усилителем автомобильного приемника. Переключение рода работ («приемник», «магнитофон») производится тумблером с двумя группами контактов на два положения (рис. 3). Тумблер монтируется на панели «Эльфа-17» около регулятора тембра.

Магнитофонная панель питается от полупроводникового преобразователя, выполненного по схеме, описанной в журнале «Радио» № 2 за 1961 г.
Для увеличения мощности и повышения надежности работы преобразователя использованы транзисторы Т3, Т4 типа П201, а в схеме усилителя мощности вместо двух транзисторов типа П4Б в плече поставлено четыре. Транзисторы усилителя мощности укреплены на двух взаимно изолированных друг от друга пластинах из листовой меди сечением 85 X Змм, длина пластины 180 мм. Преобразователь подключается к клемме «ПР» замка зажигания через отдельный выключатель ВК1 с контактами, рассчитанными на ток до 10 а.

Повышающий трансформатор преобразователя одновременно служит силовым трансформатором магнитофонной панели. Преобразователь напряжения монтируется в отдельном металлическом корпусе и крепится к днищу магнитофона. При подключении автомобильного приемника к магнитофонной панели (то есть при питании приемника от полупроводникового преобразователя) блок питания ВП-9 в автомобильном приемнике отключается. На схеме это отключение не показано. Автолюбители могут при желании это сделать дополнительно. В режиме записи магнитофон потребляет около 6,5 а.
Длительные испытания и эксплуатация магнитофона на различных дорогах (асфальт, проселочные дороги и т. д.) показали хорошие результаты. При езде по неровной дороге искажений фонограммы практически не наблюдается. При неработающем двигателе пользоваться магнитофоном более 1 —1,5 ч не рекомендуется. Уход за магнитофоном сводится к периодической (через 2-3 месяца эксплуатации) протирке пыли, промывке и свежей смазке трущихся частей. Установленный в автомобиле магнитофон позволяет воспроизводить, записывать сигналы от микрофона, автомобильного приемника (через отвод 1—см. рис. 3) и при необходимости от переносного проигрывателя, который можно подключать к преобразователю через отдельную штепсельную розетку





