ЛЮБИТЕЛЬСКИЙ УКВ ЧМ ПРИЕМНИК
М. ВЕНЕВЦЕВ, Радио №1/1967, ст.17
Прежде чем перейти к описанию схемы и конструкции приемника, рассмотрим некоторые особенности, связанные с радиоприемом и работой транзисторов в диапазоне ультракоротких волн.
Отличительной особенностью радиовещания на ультракоротких волнах является использование частотной модуляции (ЧМ), в то время как на других диапазонах волн для этой цели применяется исключительно амплитудная модуляция (AM). Отличие этих двух видов модуляции показано на рис. 1, где изображены колебания, излучаемые передатчиком при передаче простейшего синусоидального звукового сигнала с частотой F (чистого тона) для случая амплитудной и частотной модуляции несущей частоты передатчика. Из этого рисунка видно, что если при AM в соответствии с передаваемым сигналом изменяется только амплитуда несущей, а ее частота f0 остается неизменной, то при частотной модуляции наоборот — амплитуда несущей остается неизменной, а в соответствии с передаваемым сигналом меняется ее частота.

Отклонение несущей частоты от ее среднего значения f0 при ЧМ может быть весьма значительным. Так, частотное отклонение дf ЧМ радиовещательных станций составляет обычно 75 кгц. Существенно отличаются и полосы частот, занимаемые AM и ЧМ сигналами. Если при AM полоса частот, занимаемая передатчиком, равна удвоенному значению наивысшей передаваемой звуковой частоты и, как правило, не превышает 9—10 кгц, то полоса частот, занимаемая ЧМ передатчиком, равна удвоенному частотному отклонению 2дf , что составляет 150 кгц, а фактическая полоса частот, отводимая для УКВ ЧМ радиостанций, еще выше и составляет 250 кгц.
Отсюда становится ясным, что ЧМ радиостанции могут работать только в диапазоне УКВ, в котором можно расположить значительное число радиостанций без взаимных помех. В СССР для УКВ ЧМ вещания отведен диапазон волн 4,56—4,12 м (65,8—73 Мгц). Кроме того, ЧМ используется также при передаче звукового сопровождения в телевидении.
Полоса звуковых частот, передаваемая УКВ ЧМ радиостанциями, составляет 10—12 кгц, что обеспечивает значительно более высокое качество звучания по сравнению с радиостанциями других диапазонов, где полоса передаваемых частот, как правило, не превышает 4,5— 5 кгц. Другая причина высокого качества передач на УКВ объясняется и значительно меньшей подверженностью ЧМ сигналов действию местных индустриальных помех, вызывающих паразитную амплитудную модуляцию.
Так как при ЧМ передаваемый полезный сигнал вызывает изменение частоты несущей, а не амплитуды, то паразитная амплитудная модуляция без всякого ущерба может быть срезана пропусканием принятого сигнала через амплитудный ограничитель (рис. 2).

Как же осуществляется прием ЧМ сигналов? Приемники ЧМ сигналов строятся почти исключительно по супергетеродинной схеме и содержат те же каскады, что и обычные приемники AM сигналов. Основное различие заключается в принципе действия детектора и более широкой полосе пропускания высокочастотной части приемника, которая составляет 200—250 кгц. Для получения такой полосы пропускания, промежуточная частота также выбирается более высокой и в промышленных приемниках составляет 6,5 или 8,4 Мгц. В некоторых случаях перед детектором может ставиться амплитудный ограничитель, о назначении которого говорилось выше.
Для детектирования частотномодулированные колебания сначала преобразуются в амплитудномрдулированные, а затем детектируются обычным способом. Преобразование ЧМ в AM осуществляется обычно с помощью колебательного контура. На рис. 3 представлена схема простейшего частотного детектора, в котором используется одиночный колебательный контур, расстроенный относительно несущей частоты ЧМ колебания, так что несущая частота располагается на склоне его резонансной кривой. При подаче на такой контур ЧМ колебания на нем возникнет амплитудномодулированное напряжение, амплитуда которого будет расти по мере приближения частоты колебания к резонансу и уменьшаться при удалении от него. Полученное AM напряжение затем детектируется диодом Д, на нагрузке которого выделяется напряжение Звуковой частоты.

Детектирование ЧМ сигнала в такой простейшей схеме будет происходить со значительными нелинейными искажениями, которые возникают из-за кривизны склонов резонансной кривой. Поэтому в ЧМ приемниках используют более сложные двухтактные частотные детекторы с двумя диодами, а преобразование ЧМ в AM осуществляется с помощью связанных контуров, обеспечивающих значительно более линейную характеристику.
Наибольшее распространение в ЧМ приемниках получил так называемый дробный частотный детектор, или детектор отношений. Такой детектор нечувствителен к паразитной амплитудной модуляции ЧМ сигнала и позволяет обойтись без ограничителя.
Транзисторы, используемые в высокочастотных каскадах УКВ ЧМ приемника, работают на частотах, близких к их граничным рабочим частотам, и включаются по схеме с общей базой, которая обладает лучшими частотными свойствами и обеспечивает более стабильную работу, чем схема с общим эмиттером, применяемая на более низких частотах. В каскадах усиления ПЧ для получения большого усиления сигнала выгоднее включать транзисторы по схеме с общим эмиттером, однако в этом случае для повышения устойчивости работы усилителя необходимо применять нейтрализацию каскадов, что усложняет схему и налаживание приемника. Поэтому в рассматриваемом приемнике усилитель ПЧ, так же как и предыдущие каскады, собран по схеме с общей базой. Такая схема обеспечивает достаточное усиление и устойчивую работу без нейтрализации, а также уменьшает влияние температуры и разброса параметров транзисторов на работу приемника.
Принципиальная схема
Приемник позволяет вести прием УКВ ЧМ радиовещательных станций в диапазоне 65,8—73 Мгц. Он собран на 9 транзисторах по принципиальной схеме, изображенной на рис. 1—2-й стр. вкладки, и содержит следующие каскады: преобразователь частоты, усилитель ПЧ, дробный детектор и усилитель НЧ.

Входная цепь приемника настраивается на среднюю частоту диапазона и состоит из колебательного контура L2C1 и двух катушек связи: антенной — L1 и связи со смесителем — L3. Настройка приемника на станции осуществляется изменением частоты гетеродина.
Преобразователь частоты собран на двух транзисторах T1 и Т2 типа П403, включенных по схеме с общей базой. На транзисторе T1 собран гетеродин, а транзистор Т2 является смесителем. Использование двух транзисторов в преобразовательном каскаде позволяет осуществить раздельный подбор режимов работы гетеродина и смесителя, что значительно упрощает налаживание приемника. Гетеродин собран по схеме емкостной трехточки, при этом для уменьшения рабочей частоты и лучшего использования усилительных свойств транзистора T1 частота гетеродина выбрана ниже частоты принимаемого сигнала. Изменение частоты гетеродина при настройке на станции осуществляется вращением алюминиевого флажка относительно витков контурной катушки L4, выполненной в виде спирали. Подгонка частоты гетеродина при налаживании приемника производится подстроечным конденсатором С28. Резисторы R28 R29 R30 обеспечивают необходимый режим работы транзистора Т1 по постоянному току. Напряжение гетеродина снимается с коллектора транзистора Т1 и через конденсатор С30 подается на базу транзистора Т2 смесительного каскада, на эмиттер которого через катушку связи L3 поступает входной сигнал.
В коллекторную цепь Т2 включен настроенный на промежуточную частоту контур L5C2C3, напряжение с которого поступает на вход трехкаскадного усилителя ПЧ.
Усилитель ПЧ собран на транзисторах Т3, Т4, Т5 типа П401, включенных по схеме с общей базой. Величина промежуточной частоты в описываемом приемнике выбрана равной 6.5 Мгц, что позволяет использовать в качестве фильтров ПЧ контуры от промышленных телевизоров. Значительное выходное сопротивление каскада с общей базой позволяет осуществить полное включение контура в коллекторную цепь, в то время как эмиттерная (входная) цепь такого каскада из-за малой величины входного сопротивления может подключаться к контуру лишь частично. Для этой цели в усилителе ПЧ используется емкостная связь, величина которой определяется емкостями конденсаторов С3, С7, С10. Режим транзисторов Т3, Т4, Т5 по постоянному току определяется резисторами R5— R11.
В качестве частотного детектора в приемнике использован несимметричный дробный детектор, собранный на диодах Д1 Д2 и по своей схеме аналогичный частотному детектору телевизора «Старт-3». Нагрузкой детектора является регулятор громкости — потенциометр R12. Усилитель НЧ состоит из двух предварительных каскадов с общим эмиттером, собранных на транзисторах T6, Т7 тина П15 и двухтактного бестрансформаторного выходного каскада — на транзисторах Т8,T9 с разной проводимостью.
Для стабилизации режима и уменьшения искажений, вызываемых незначительным разбалансом в выходной ступени используется отрицательная обратная связь по постоянному току, напряжение которой снимается с выхода усилителя и через резистор R24 подается на базу транзистора T7.
Между первым и вторым каскадами УНЧ для регулировки тембра включена частотнозависимая цепочка С24, С25, R21, R22 характеристика которой меняется при вращении потенциометра R22.
Выходная мощность приемника около 200 мвт.
Питание приемника осуществляется от двух последовательно соединенных батарей типа КБС-Л-0,5. Потребляемый ток в режиме молчания не превышает 15 ма. Заземленным полюсом источника питания является минус, что значительно упрощает развязку и монтаж коллекторных цепей каскадов с общей базой. В цепи питания высокочастотной части приемника включен развязывающий фильтр С19 Др1 а в цепи питания преобразователя — фильтр R2С4.
Конструкция и детали
Приемник смонтирован на шасси, изготовленном из гетинакса толщиной 1,5—2 мм. Внешний вид шасси й расположение деталей на нем показаны на рис. 2, а расположение деталей в подвале шасси — на рис. 3 вкладки. Монтаж приемника осуществляется с помощью штырьков, изготовленных из медного провода диаметром 1 мм и длиной около 15 мм, которые вставляются в отверстия в шасси с небольшим усилием. Батареи питания размещаются сбоку шасси на гетинаксовой пластинке (см. рис. 2 вкладки). Футляр приемника склеен из цветного органического стекла. Громкоговоритель располагается над верхней панелью шасси и крепится к съемной крышке футляра, в которой имеется отверстие, закрытое декоративной решеткой. В качестве фильтров ПЧ — ФПЧ-1, ФПЧ-II и ФПЧ-II использованы контуры К-5 от телевизора «Старт-3», которые подвергаются незначительной переделке. Резистор сопротивлением 7,5 ком и конденсатор емкостью 7 пф, входившие в контур К-5, удаляются; в контур добавляется конденсатор емкостью 360 пф и резистор сопротивлением 3,3 ком; распайка деталей и выводов катушки пбказаны на рис. 4 (а — до переделки, 6 — после переделки). Вместо контуров К-5 от телевизора «Старт-3» могут быть использованы, после соответствующей переделки, контуры и от других телевизоров, настроенные на частоту 6,5 Мгц, например, контур К-7-1 от телевизора «Рубин-102».

В качестве фильтра ФПЧ-1 V без всякой переделки использован контур К-7 от телевизора «Старт-3».
Для намотки катушек входного контура L1, L2, L3 может быть использован каркас любого контура от телевизора «Старт-3», в котором имеется латунный сердечник. Катушка L2 содержит 6 витков провода ПЭВ-0,4 и наматывается на расстоянии 30 мм от верхнего края каркаса; катушка связи L1 содержит 3 + 3 витка провода ПЭЛIIIО-0,35 и наматывается между витками катушки L2 катушка L3 наматывается поверх катушки L2 и содержит 4 витка провода ПЭЛШО 0,35. Распайка выводов катушек производится в соответствии с нумерацией, указанной на принципиальной схеме. Средний вывод катушки L1 припаивается к лепестку, — удерживающему экран контура.
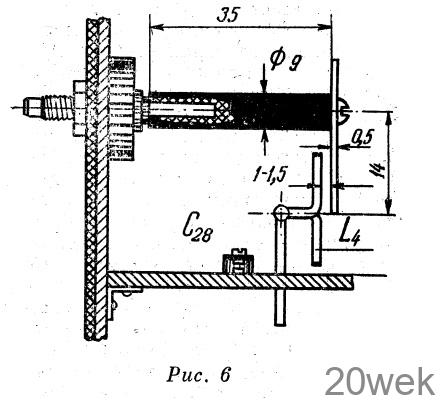
Катушка гетеродина L4 содержит 5,5 витка провода ПЭВ 0,8 и наматывается в виде плоской спирали, диаметр первого витка которой составляет 3 мм. Намотку такой катушки начинают с укладки первого витка с помощью какого-либо стержня диаметром 3 мм, a затем поверх него укладывают остальные витки. Небольшой зазор между витками значения не имеет, так как его влияние устраняется подстроечным конденсатором С28.
Изменение индуктивности катушки L4 осуществляется с помощью алюминиевого флажка, который укреплен на оси и может перемещаться относительно ее витков.
Внешний вид катушки L4 и флажка изображены соответственно на рис. 5, а и 5,6. Механизм вращения флажка и его расположение относительно катушки L4 показаны на рис. 6.


Механизм состоит из втулки, укрепленной в передней стенке шасси, вращающейся в ней оси, с насаженным на нее стержнем из изоляционного материала, к которому привинчивается флажок. В качестве втулки и оси использован корпус и ось от потенциометра типа СП.
Дроссель Др1 наматывается На резисторе МЛТ-2 с сопротивлением не менее 100 ком, намотка производится по всей длине в один слой проводом ПЭВ 0,12.
Налаживание
Налаживание приемника следует начинать с измерения общего тока, потребляемого от батарей. Затем: приступают к проверке режимов транзисторов по постоянному току, измеряя величины токов и напряжений в точках, указанных на схеме. Измеренные значения не должны отличаться от указанных на схеме более чем на 15—20%. Величины напряжений измерены относительно положительного полюса батареи
Проверку режимов начинают е вы ходного каскада усилителя НЧ. Сначала измеряют напряжение на эмиттере транзисторов выходного каскада, которое должно быть равно половине напряжения источника питания и в случае необходимости может быть подогнано подбором сопротивления, резистора R24. Затем измеряют коллекторное напряжение транзистора Т6, которое устанавливается подбором величины резистора R17.
После этого переходят к проверке режимов транзисторов усилителя ПЧ, измеряя напряжение на эмиттерах транзисторов T3, Т4, Т5. Установка величин этих напряжений производится подбором резисторов R5, R8 и R11 соответственно.
Затем приступают к проверке работы гетеродина, начиная с измерения эмиттерного тока транзистора Т1. Его величина должна лежать в пределах 3—4 ма и может быть подобрана резистором R30. Установив нужную величину тока, не отключая измерительный прибор, проверяют наличие генерации, замыкая пинцетом катушку L4. Если при этом наблюдается хотя бы незначительное изменение в показаниях прибора, то это свидетельствует о том, что гетеродин генерирует.
Генерация должна возникать при всех положениях флажка настройки. Если гетеродин не генерирует, следует попробовать увеличить емкость конденсатора С28 или увеличить эмиттерный ток транзистора Т1, уменьшая сопротивления резисторов R28 и R30. При этом устанавливать эмиттерный ток транзистора Т1 выше 6 ма не следует. Если указанные меры не позволяют добиться генерации, транзистор Т1 необходимо заменить.
Смесительный каскад обычно налаживания не требует.
Теперь можно приступить к приему сигналов радиостанций. Поставив сердечники контуров в средние положения, а регулятор громкости на максимальную громкость, подключаем антенну и пытаемся поймать передачу какой-либо станции. Если ни одной станции услышать не удается, значит, частота колебаний гетеродина лежит вне диапазона частот от 59,3 до 66,5 Мгц. Немного изменив емкость подстроечного конденсатора С28, снова пытаемся поймать передачу какой-либо станции. Этот процесс повторяется до тех пор, пока не удастся услышать хотя бы слабый сигнал какой-нибудь радиовещательной станции. Услышав сигнал, приступаем к настройке фильтров ПЧ, начиная с контура дробного детектора, вращая сердечники фильтра ФПЧ-IV до получения неискаженной передачи с максимальной громкостью.
После этого таким же способом производим настройку фильтров ФПЧ-1, ФПЧ-II и ФПЧ-III , тоже добиваясь максимальной громкости и минимума искажений. Настройку контуров на промежуточную частоту быстрее и проще осуществить с помощью телевизора, в котором для приема звукового сопровождения используется разностная частота 6,5 Мгц между несущей звука и изображения («Рекорд», «Рубин-102», «Старт-3» и др.). При работе телевизоров в непосредственной близости от контуров, настроенных на разностную частоту 6.5Мгц, создается электромагнитное поле этой частоты, которое и может быть использовано для настройки каскадов ПЧ нашего приемника.
Настройка производится так. К коллектору транзистора Т2 подключают кусок провода, выполняющий роль антенны, который располагают в непосредственной близости от включенного телевизора. В такой антенне наводится напряжение с частотой 6,5 Мгц, модулированное звуковым сопровождением телевизионной передачи. Вращая сердечники контуров ПЧ настраиваемого приемника, добиваются воспроизведения звукового сопровождения телепередачи с малыми искажениями и максимальной громкостью. Регулятор громкости телевизора при этом следует устанавливать на минимальную громкость. После настройки контуров на промежуточную частоту переходим к подгонке диапазона частот гетеродина. Настроив приемник на какую-либо УКВ радиостанцию и уточнив длину ее волны (это можно сделать по шкале промышленного приемника), с помощью подстроечного конденсатора С28 добиваемся, чтобы эта станция принималась при нужном положении флажка настройки. Например, московская радиостанция, работающая на волне 4,52 м (66,37 Мгц), должна приниматься в положении, близком к наибольшему удалению флажка настройки от катушки 1/4.
Настройка входной цепи приемника производится по сигналам радиостанции, работающей в среднем участке диапазона, вращением сердечника катушки L.2 до получения наибольшей громкости. Следует отметить, что максимум громкости при этом выражен довольно слабо. На этом настройка приемника заканчивается.
Описываемый приемник может работать с различными типами антенн, использование которых определяется главным образом напряженностью поля в месте приема. Если напряженность поля достаточно велика, то в качестве антенны может быть использован кусок провода или штырь, подключаемый к гнезду 1 или 2. При малой напряженности поля следует использовать специальную УКВ антенну (например, симметричный вибратор), который присоединяется к обоим концам катушки L1





