Ламповый вольтметр
Радио №10/1964, ст.53
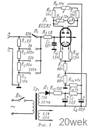
Этот прибор предназначен для измерения постоянного напряжения в пределах 0—500 в (0—0,5 в, 0—5 в, 0—50 в, 0—500 в). Входное сопротивление его 10 Мом. Сопротивления R1—R4 представляют собой делитель напряжения.
В приборе использована мостовая схема измерения. Плечи моста составлены из сопротивления R9, левого (по схеме) триода лампы ЕСС 82, сопротивления R6 и части переменного сопротивления R8, R10 правого триода, R13 и части сопротивления R8. В диагональ моста включены микроамперметр на 300 мка и последовательно соединенное с ним переменное сопротивление R7. С помощью потенциометра R8 при разомкнутых входных зажимах можно сбалансировать мост и таким образом установить стрелку индикатора на нулевое деление шкалы

Подстроечное сопротивление R7 служит для градуировки измерительного прибора. Его шкалу целесообразно разделить на 50 частей.
Вольтметр градуируют так. На его вход подают различные напряжения, которые контролируют по эталонному прибору. Изменяя величину сопротивления R7, показания градуируемого прибора приводят в соответствие с показаниями эталонного. Поскольку точность прибора определяется разбросом значений сопротивлений делителя напряжения R1—R4, то необходимо выбирать их с допусками не хуже -+ 5%.
От редакции: лампу ЕСС 82 можно заменить на 6Н4П.





