КВ КОНВЕРТЕР С ПОЛОЖИТЕЛЬНОЙ ОБРАТНОЙ СВЯЗЬЮ
В. Гончарский (Радио №2/1963 ст.19)
Значительное увеличение количества любительских КВ радиостанций предъявляет высокие требования к приемным устройствам. Известно, что избирательность по каналам ПЧ может быть очень высокой. Однако высокая избирательность по ПЧ не обеспечивает необходимой избирательности, если источник помех находится на небольшом расстоянии от приемника, В этом случае, даже при расстройке на 50—100 кгц, помеха будет прослушиваться. Помехи такого рода называются перекрестными и проявляются в виде модуляции полезного сигнала частотой помехи. Если мешающий передатчик работает незатухающими колебаниями (CW), то полезный сигнал в такт с манипуляцией резко уменьшается. При работе передатчика помехи в телефонном режиме полезный сигнал оказывается модулированным частотой модуляции передатчика помех.
Появление перекрестных помех объясняется тем, что сильный сигнал помехи проходит через входные цепи приемника, которые на коротких волнах, несмотря на относительно высокую добротность, имеют широкую резонансную характеристику. Например, на частоте 10 Мгц и добротности входных контуров в 100 полоса пропускания контуров на уровне 0,707 будет 100 кгц, поэтому сильные сигналы помех проходят через входные цепи и, попадая на сетку лампы усилителя ВЧ или смесителя, вызывают изменение положения рабочей точки, а следовательно, и модуляцию полезного сигнала. Некоторое повышение помехозащищенности приемных устройств от перекрестных помех может быть достигнуто выбором соответствующих ламп, режимов, коэффициента связи с антенной, количеством избирательных контуров (см. А. Г. Анисимов — Перекрестные помехи при приеме радиотелефонных сигналов— Москва, Воениздат, 1958 г.).
Однако эти методы все же не позволяют значительно ослабить перекрестные помехи.
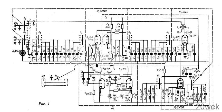
Ниже приводится описание конвертера для приема в любительских диапазонах 14,0—14,35; 21,0—21,45 и 28,0—29,7 Мгц, у которого для повышения реальной избирательности входных цепей введена положительная обратная связь на рабочей частоте, которая работает аналогично схемам умножителя Q, применяемым в каскадах ПЧ. Принципиальная схема конвертера приведена на рис. 1.

Антенна через разъем Kp1 подводится к переключателю П2 и далее через конденсатор связи C1 на контур, составленный катушкой L1 и группой конденсаторов. Неоновая лампа Л5 (МН-3) защищает входные цепи от сильных сигналов местного радиопередатчика. Переключателем Пз параллельно катушке L1 подключаются конденсаторы С3, С4, С5, С7, С6, которые вместе с конденсатором переменной емкости С2 обеспечивают настройку первого контура на частоту принимаемой станции. Второй контур, образованный катушкой L2 и конденсаторами С8, С9, С10 С11 С12 С13, связан с первым через конденсатор С’7. Каскад усиления ВЧ собран по каскодной схеме на лампе Л1 (6Н14П) и обеспечивает малый уровень собственных шумов. Переменное сопротивление R3 служит для регулировки отрицательного смещения на управляющей сетке лампы Л1, а следовательно, и коэффициента усиления. На выходе усилителя ВЧ включен полосовой фильтр L3 С15 С16 С18 С19 С20 С21 и L4 С23 С24 С25 С2б С27 С28. С катушки L4 через конденсатор С45 сигнал подается на управляющую сетку правого (по схеме) триода лампы Л4 (6Н2П), обеспечивающего поворот фазы и регулируемое усиление напряжения положительной обратной связи. С сопротивления R14 на сетку этого триода подается отрицательное напряжение смещения, которое либо запирает лампу, и конвертер работает без обратной связи, либо может довести каскад усиления ВЧ до самовозбуждения при малом смещении и большом коэффициенте усиления. Таким образом, сопротивлением R14 осуществляется выбор уровня положительной обратной связи.
Левый триод лампы Л4 используется в качестве кварцевого калибратора.
В конвертере применен односеточный смеситель на лампе Л2 (6С2П). В анодной цепи его включен широкополосный ВЧ трансформатор. Гетеродин, собранный на лампе Лз (6ЖЗП), имеет кварцевую стабилизацию и настраивающийся контур L7Сзз в анодной цепи.
В описываемом конвертере промежуточная частота выбрана в диапазоне 2-3 Мгц. Через разъем КР2 конвертер коротким куском коаксиального кабеля типа РК-1, РК-50, РК-19 соединяется со входом основного приемника.
Конструкция и детали
Конвертер смонтирован на латунном шасси размерами 130х60х200 мм и имеет экранирующие перегородки.
Катушки L1, L2, L3 и L4 намотаны на каркасах диаметром 16 мм и имеют по 7 витков провода ПЭЛ 0,51, длина намотки 14 мм. У катушек L1 делается отвод от второго витка (считая от заземленного конца). Катушки L5 и L6 размещены на оксиферовом кольце размерами 21 х 11×5 мм, катушка L5 содержит 30 витков провода ПЭЛ 0,51, а катушка L6—10 витков такого же провода. Катушка L7 намотана на каркасе диаметром 10 мм и имеет 12 витков. Дроссель Др1 содержит 50 витков провода ПЭ 0,2, размещенных на каркасе от сопротивления ВС на 2 вт. Блок конденсаторов—С2, С12, С15, С28 от радиостанции А-7Б.
Питание конвертора может производиться от выпрямителя основного приемника. Желательно анодное напряжение стабилизировать электронным стабилизатором или стабилитроном СГ-4С. Схема колодки питания приведена на рис. 1.
Налаживание и результаты
Первым настраивается кварцевый гетеродин, собранный на лампе Лз. Резонанс анодного контура можно определять по гетеродинному волномеру, калиброванному приемнику, ламповому вольтметру или миллиамперметру, включенному в разрыв анодной цепи. Частоту кварцевого генератора желательно контролировать и в случае необходимости подстроить включением параллельно кварцу небольших конденсаторов (С40). Изменением индуктивности катушки L5 и подбором емкости конденсатора С33 анодный контур настраивается на частоту 26 Мгц, на частотах 19 и 12 Мгц подбираются емкости конденсаторов С55, С41, С42 и С43.
В приемнике, к которому подключен конвертер, устанавливается частота 2500 кгц. На сетку лампы Л2 подается сигнал от ГСС частотой 28,5 Мгц (переключатели П1—П8 устанавливаются в первое положение). Подбором витков в обмотке L5 трансформатора Тр1 и подбором емкости конденсатора С29 добиваются максимальной передачи сигнала в диапазоне 28-29 Мгц на вход основного приемника. Затем сигнал от ГСС переносится на входной разъем Kp1. Блок конденсаторов С2, C12, С15, С28 устанавливается в среднее положение и подается сигнал частотой 28,5 Мгц. Изменением индуктивностей катушек L1, L2, L3 и L4 добиваются максимального усиления (положительная обратная связь выведена). Затем проверяется сопряжение в пределах диапазона и в случае необходимости производится дополнительная подстройка индуктивностями и подбором емкости конденсаторов С13, С16, С27. Аналогично производится настройка диапазонов 14 и 21 Мгц. Но на этих диапазонах вся настройка ведется только путем подбора емкости конденсаторов. При введении положительной обратной связи наблюдается резкое увеличение коэффициента усиления, возрастает острота настройки контуров и может наблюдаться некоторое смещение резонансной частоты.
При высоком уровне перекрестных помех рекомендуется ослабить связь с антенной, уменьшив емкость конденсатора C1, а также несколько увеличить смещение на лампе Л1 (R3) и ввести положительную обратную связь, что позволяет скомпенсировать уменьшение усиления.
Применение конвертера дало возможность автору производить прием без перекрестных помех на частотах ниже и выше в 10—15 кгц от частоты радиостанции UB5AC, имеющей передатчик мощностью в 200 вт. Расстояние между UB5WF и UB5AC около 100 метров.
г. Львов





