Комбинированный телевизор
Радио №10/1965, ст.58
Последняя модель комбинированного телевизора, выпускаемого одной из австрийских фирм, собрана на 12 транзисторах, 14 полупроводниковых диодах и 8 лампах. В нем применен кинескоп 23DGP4 с размером по диагонали 23 дюйма (около 59 см) и углом отклонения луча 110°. Полупроводниковые приборы и лампы распределяются по каскадам телевизора следующим образом (см. таблицу). Схемные решения некоторых узлов этого телевизора приводятся ниже.

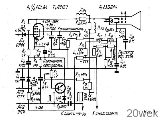
На рис. 1 изображена схема видеоусилителя и каскада ключевой АРУ телевизора. Видеоусилитель собран на пентодной части лампы PCL84 (Л1), а каскад ключевой АРУ — на транзисторе АС127 (Т1) и двух полупроводниковых диодах ОА81 (Д2 и Д3). Схема видеоусилителя — стандартная, со сложной высокочастотной коррекцией. Регулировка контрастности осуществляется при помощи переменного сопротивления R3 в цепи экранирующей сетки Л1. Схема ключевой АРУ выполнена примерно так же, как в случае применения лампового триода. Это оказалось возможным ввиду того, что транзистор АС127— типа п-р-п и к нему можно приложить напряжения в таких же полярностях, как к ламповому триоду. Таким образом, напряжение видеосигнала в отрицательной полярности подается с сопротивления R6 в цепи катода лампы Л1 на эмиттер транзистора Т1. На базу Т1 с делителя R12R7 снимается положительное напряжение, которое можно менять с помощью переменного сопротивления R7. Это положительное напряжение определяет режим работы транзистора Т1, а потенциометр R7 служит ограничителем контрастности. На коллектор поступает напряжение импульсов обратного хода строчной развертки, ограниченное диодом ОА81 (Д3). С анода диода Д3 снимается напряжение АРУ. Это напряжение подается на регулируемые каскады усилителя ПЧ— непосредственно, а на усилитель ВЧ и ПТК — с задержкой, которая осуществляется при помощи задерживающего диода ОА81 (Д2). Потенциометр R18 регулятора яркости включен необычным способом для достижения автоматической регулировки яркости (АРЯ).


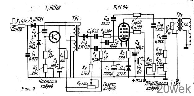
Схема узла кадровой развертки телевизора изображена на рис. 2. Задающий блокинг-генератор узла собран на транзисторе АС126 (T1), а выходной каскад — на лампе PL84 (Л1). Трансформатор блокинг-генератора Тр1 имеет три обмотки, к одной из которых присоединен выход интегрирующей цепи кадровых синхроимпульсов. Обмотки Тр1 очень сильно связаны между собой, что достигается специальной намоткой их. Зарядная цепь блокинг-генератора состоит из сопротивления R5, потенциометра R6 и конденсатора С5. Питание транзистора T1 осуществляется напряжением, падающим в катодной цепи лампы Л1 выходного каскада. Это напряжение стабилизируется кремниевым стабилитроном Z12K (Д4)- Выходной каскад узла не имеет особенностей.
От редакции: Пентодную часть лампы PCL84 можно заменить пентодной частью 6Ф4П, лампу PL84 — 6П14П, транзисторы АС126 —П16 и АС127 — П101, диоды ОА81 —Д9Л, BAY20—Д220Б и кремниевый стабилитрон Z12K—Д813





