Катодный детектор
Для того чтобы компенсировать сильные изменения напряженности поля принимаемых радиостанций, желательно иметь АРУ с большим диапазоном регулирования. Обычно в этих случаях применяют усиленную АРУ, для осуществления которой требуется отдельная лампа. В этом случае выпрямление напряжения АРУ и детектирование сигнала осуществляются при помощи диодов. Но, как известно, диодное детектирование нагружает входной контур ПЧ, отчего общая избирательность приемника ухудшается.

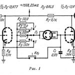
Схема, изображенная на рис. 1, объединяет детекторный каскад и усилитель напряжения АРУ в одной лампе. Так как катодный детектор обладает высоким входным сопротивлением, фильтр ПЧ не нагружается, и общая избирательность приемника заметно улучшается.
Лампа Л1 работает на нижнем сгибе характеристики.
Для того чтобы получить напряжение смещения, сдвигающее рабочую точку лампы Л1 на нижний сгиб характеристики между ее катодом и землей установлено сравнительно большое сопротивление Rз=2,7 ком, параллельно которому для пропускания промежуточной частоты включен конденсатор С4=260 пф. Напряжение НЧ снимается с катода лампы через переходной конденсатор С7 и фильтр ПЧ R8 С8. Экранирующая сетка лампы Л1 работает в качестве анода детекторной части каскада.
Усиленное напряжение ПЧ, имеющее на аноде лампы Л1, используется для получения напряжения АРУ. Сопротивление R4—47 ком определяет величину напряжения АРУ и при установке других типов диодов должно быть подобрано опытным путем.
По материалам: «DL — QTC», октябрь, 1962 г.
ПРИМЕЧАНИЕ: Взамен лампы Л1—EF94/6AU6 может быть применена лампа 6ЖЗП, а взамен диода Д1—GSD 2,5/15 — диод Д2Д или Д2Е. При монтаже необходимо соблюдать полярность диода, указанную на схеме. Если каскад будет самовозбуждаться, нужно увеличить емкость конденсатора С4.
Каскад по описанной схеме может быть применен не только в связных КВ, но и в широковещательных приемниках. Электронно-лучевой индикатор настройки 6Е5С присоединяется к выходу АРУ.






