Измеритель пиковых напряжений
При ремонте и настройке телевизоров бывает необходимо измерить пиковые напряжения сигналов, имеющих самую разнообразную форму.

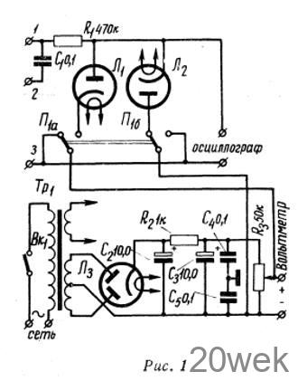
На рис. 1 приводится схема простого измерителя пиковых напряжений, достаточной для практики точности. Измеритель состоит из выпрямителя и двух противоположно включенных ламповых диодов. Измеряемое переменное напряжение, любой формы, подается на зажимы 1—3 или 2—3. Конденсатор C1 не пропускает постоянную составляющую, если она имеется в измеряемом сигнале. При помощи сдвоенного переключателя П1 можно запереть диоды Л1или Л2 постоянным напряжением той или иной полярности. Величина запирающего напряжения устанавливается потенциометром R3. Сигнал с телевизора и выходное напряжение измерителя одновременно подаются на вертикальный усилитель осциллографа. Наблюдая изображение сигнала на экране осциллографа, вращают ручку потенциометра R3 до тех пор, пока это изображение не превратится в горизонтальную линию. В этот момент пиковое напряжение сигнала будет равно запирающему диод Л1 или Л2 напряжению. Величину запирающего напряжения измеряют обычным вольтметром постоянного тока.





