ИЗМЕРИТЕЛЬ МАЛЫХ ЁМКОСТЕЙ
С. Цветнов, Радио №2/1965, ст. 47
Измеритсль емкости прост по схеме и надежен в работе. Собрать и наладить его под силу радиолюбителю средней квалификации.
Прибор (рис. 1) собран на двойном триоде 6Н8С по схеме двухтактного генератора ВЧ. Вместо этой лампы можно использовать 6Н1П, 6НЗП и т. п

Колебательный контур генератора, включенный между управляющими сетками триодов, состоит из последовательно соединенных кату- ш:к индуктивности L2 и L1 конденсаторов C1 и С2. Обе катушки имеют по 60 витков провода ПЭШО 0,35. Сопротивления нагрузки анодной цепи R1 и R2 вместе с внутренними сопротивлениями триодов Ri1 и Ri2 образуют измерительный мост (рис. 2). В диагональ этого моста включены микроамперметр и сопротивление RН

Параметры деталей измерителя емкости подобраны так, чтобы при равенстве емкостей С1=С2 резонансные частоты обеих половин колебательного контура были равны. В этом случае напряжения на сетках триодов будут одинаковы, и при равенстве анодных сопротивлений R1 — R2 внутренние сопротивления триодов Ri1 и Ri2 сравняются. При этом мост окажется в равновесии, и ток через стрелочный индикатор не потечет.
Если параллельно конденсатору C1 подключить конденсатор Сх, емкость которого необходимо измерить, напряжение на сетке левого триода изменится, вследствие чего изменится его внутреннее сопротивление, и баланс моста нарушится. Через измерительный прибор потечет ток, величина которого зависит от емкости Сх. Измеритель емкости может быть выполнен в двух вариантах: либо по схеме неравновесного моста, либо по схеме равновесного моста.
В основу работы прибора, построенного по схеме неравновесного моста, положена зависимость IН=f(СХ). Измеряемую емкость отсчитывают по шкале микроамперметра. Диапазон измеряемой емкости (от 10—20 до 100 пф) зависит от емкости конденсатора C2 и контрольных конденсаторов, по которым устанавливается цена деления шкалы. Принципиальная схема этого варианта прибора приведена на рис. 3 Такой прибор может измерять емкости до 100 пф, П1 —- переключатель рода работы. Контрольные емкости С5—С6 предназначены для проверки начала шкалы, С7—С8 — для проверки конца шкалы, переменное сопротивление R1, служит для балансировки мостовой схемы, R5 — для регулировки чувствительности.

Сумма емкостей C5+С6 должна быть равна емкости конденсатора С4.
Испытуемый конденсатор подключают к зажимам Сх. Переключатель П1 ставят в правое положение. При этом к катушке индуктивности подключаются контрольные емкости С5—С6. Сопротивлением R5 добиваются максимальной чувствительности прибора, а сопротивлением R1 стрелку микроамперметра устанавливают на нулевое деление шкалы. Затем переключатель П1 переводят в среднее положение и с помощью сопротивления R5 добиваются полного отклонения стрелки прибора. После этого устанавливают П1 в левое положение 3 и по шкале микроамперметра отсчитывают показание. Точность измерения во многом зависит от тщательности градуировки прибора по эталонным емкостям. Для повышения точности измерения необходимо питать прибор стабилизированным напряжением.
Первоначально прибор настраивают следующим образом. Сетки триодов короткими проводниками соединяют с корпусом и с помощью сопротивления R1 балансируют мост. Переключатель П1 устанавливают в правое положение, а сопротивление R5—в положение, соответствующее максимальной чувствительности микроамперметра. Отсоединяют сетки ламп от корпуса и, не изменяя положения движка сопротивления R1, подстроечным конденсатором С6 устанавливают стрелку прибора на нулевое деление. Переключатель переводят в среднее положение, в результате чего к контуру подключаются конденсаторы C7—C8. Их общая емкость должна быть больше емкости конденсаторов С5—С6 на 100 пф. Изменяя величину сопротивления R5, устанавливают стрелку прибора на деление 100. Затем, установив переключатель в левое положение, с помощью конденсатора С1о возвращают стрелку на нулевое деление. Затем прибор градуируют, подключая эталонные конденсаторы к зажимам Сх
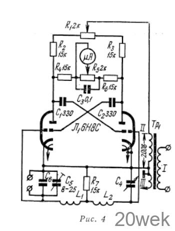
Прибор, выполненный по схеме равновесного моста, значительно, проще. Он отличается от предыдущего тем, что емкости конденсаторов обоих половин диагонали моста не течет. Схема этого прибора приведена на рис. 4.

Диапазон и точность измерения емкости в основном зависят от качества и параметров переменного конденсатора С4, по шкале которого отсчитывают показания. При использовании в качестве С4 лабораторного конденсатора Р-512 можно измерять емкости до 1100 пф.
Для первоначальной настройки прибора выводы сеток триодов так же, как и в первом случае, соединяют с корпусом прибора и добиваются баланса моста (сопротивление R1). Затем сетки отсоединяют от корпуса, указатель конденсатора С4 устанавливают на начальное деление шкалы и изменением емкости конденсатора С5 вновь балансируют мост.
Перед началом измерения прибор подключают к сети, указатель конденсатора C4 ставят на нулевое деление. После прогрева прибора в течение 3—5 мин изменением сопротивления балансируют мост. Затем к зажимам Сх подключают измеряемую емкость и вновь балансируют устройство с помощью конденсатора C4. При этом Cх=C4. Суммарная емкость конденсаторов С5 и С6 должна быть равна начальной емкости конденсатора C4. Трансформатор Tp1 собран на сердечнике из пластин Ш—25, толщина набора 35 мм. Первичная обмотка содержит 1500 витков провода ПЭЛ 0,22; обмотка II —1370 витков провода ПЭЛ 0,18; обмотка III—43 витка провода ПЭЛ 0,68
Описанный в статье измеритель емкости, несмотря на свою простоту, отличается высокой чувствительностью и стабильностью При использовании лампы с одинаковыми параметрами триодов дрейф нуля не превышает 0,3—0,5 мка/час. График градуировки прибора приведен на рис. 5. Прибор можно применять в устройствах промышленной автоматики с емкостными датчиками.






