ИНДИКАТОР ВЛАЖНОСТИ
И. Кулик, Радио №2/1965, ст.43
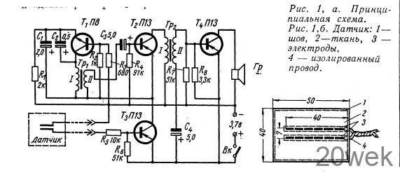
Прибор, принципиальная схема которого приведена на рис. 1, состоит из датчика, усилителя постоянного тока, генератора звуковой частоты и двух каскадов усилителя НЧ.

Датчик представляет собой два медных электрода,обернутых тканью. Если ткань сухая, то сопротивление цепи датчика (между электродами) бесконечно велико. Если она увлажняется, сопротивление цепи датчика резко уменьшается до 100— 5 ком.
Датчик включен в цепь базы транзистора Тз, усилителя постоянного тока. Если датчик становится влажным, в цепи базы транзистора Тз появляется ток, и Тз открывается. В данном случае напряжение питания от батареи подается к генератору звуковой частоты, собранному на транзисторе Т1, и к первому каскаду усилителя НЧ на транзисторе T2.
Генератор начинает работать, напряжение звуковой частоты поступает на вход двухкаскадного усилителя НЧ (T2, Т4) и усиливается.
Нагрузкой транзистора Т4 является громкоговоритель с сопротивлением звуковой катушки 30- 100 ом. Сопротивление R6 служит для температурной стабилизации работы транзистора Тз, а сопротивление R5 для ограничения тока цепи базы транзистора Тз при значительном уменьшении сопротивления цепи датчика.
Звуковой генератор собран по схеме с емкостной обратной связью. Рабочая частота генератора определяется индуктивностью первичной обмотки Тр1 и общей емкостью конденсаторов С1 и C2. При желании частоту генератора можно изменить (для понижения частоты необходимо увеличить емкость конденсатора С1)
Прибор питается от батареи карманного фонаря напряжением 3,7 в. При отсутствии входного напряжения сигнала прибор потребляет ток 2,5—3 ма, при поступлении сигнала — от 10 до 25 ма.
В приборе применены электролитические конденсаторы ЭМ (С1— С4), сопротивления УЛМ.
Коэффициент усиления В транзисторов Т1 и Тз должен быть в пределах 20—30, а транзисторов T2, Т4—30—40.
Транзистор П8 можно заменить П9 или П10, а П13—П14—П15. Трансформатор Тр1 выполнен на тороидальном ферритовом сердечнике Ф—2000 размерами 12х6х3 мм.Первичная обмотка содержит 800 витков провода ПЭВ 0,08 и вторичная обмотка — 150 витков того же провода. Обмотки трансформатора Тp2 также намотаны на ферритовом кольце Ф—2000 размерами 20X 10х 5 мм. Первичная обмотка насчитывает 600 витков провода ПЭВ 0,1, а вторичная обмотка — 80 витков провода ПЭВ 0,2.
В качестве громкоговорителя использован самодельный громкоговоритель,переделанный из наушников головных телефонов ТМ—2А. Для этой же цели можно использовать ДЭМШ-1 или ДЭМ-4М.
Электроды датчика (рис. 1,6) выполнены из оголенного тонкого многожильного медного провода.
Прибор помещен в корпус карманного фонаря. Вместо рефлектора установлен громкоговоритель. Остальные детали смонтированы на гетинаксовой плате размерами 60х Х38Х2 мм.
Датчик соединяется с прибором при помощи штепсельного разъема. Как показала практика, необходимо иметь три—четыре экземпляра датчиков. Прибор сохраняет работоспособность при снижении напряжения батареи до 2—2,5 в





