Ферритовые антенны для «лисоловов»
В. ХОМИЧ, Радио №7/1966, ст.21
Для «Охоты на лис» в диапазоне 144—146 Мгц до настоящего времени преимущественно применяются антенны типа «волновой канал». Такие антенны довольно велики по размерам и затрудняют передвижение «охотника».
При поиске «лис» на других диапазонах (3,5 и 28 Мгц) любители применяют легкие и малогабаритные ферритовые антенны, которые хорошо зарекомендовали себя. Желательно применять такие антенны и в диапазоне 144 Мгц,
Трудность конструирования ферритовой антенны для диапазона 144 Мгц заключается. не столько в подборе феррита, сколько в выполнении антенной катушки, так как индуктивность ее должна быть очень мала (например, при емкости входных цепей приемника 10 пф индуктивность антенной катушки не должна превышать 0,12 мкгн). Кроме того, ферритовая антенна должна обладать достаточной действующей высотой.
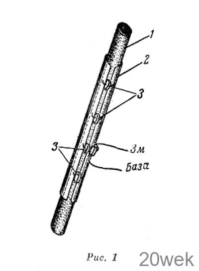
Описываемая ниже ферритовая антенна эффективно работает в диапазоне 144 Мгц, Сердечник 1 этой антенны (рис. 1) выполнен из феррита 30ВЧ2 круглого сечения диаметром 8 мм и имеет длину 80 мм. Для достижения малой индуктивности антенной катушки она выполнена в виде объемного витка 2, представляющего собой незамкнутый цилиндр из листовой меди, латуни или тонкой жести Длина образующей цилиндра — 50 мм ширина щели — 2— 3 мм. Объемный виток располагается на сердечнике симметрично, так чтобы длина выступающих концов сердечника составляла около 15 мм. Чтобы виток не смещался, его можно приклеить клеем БФ-4 или зажать вместе с сердечником в специальных держателях антенны, изготовленных из диэлектрика с малыми потерями на ВЧ.

К противоположным краям щели в объемном витке на расстоянии 10 мм друг от друга и от концов объемного витка припаиваются дисковые конденсаторы 3 типа КДК-3. Три из этих конденсаторов имеют емкость по 6 пф. На четвертое место (любое из средних) устанавливаются два конденсатора, соединенных последовательно: один — емкостью 8 пф, а второй — 20—25 пф. Конденсаторы припаиваются своими выводами, длина которых должна быть возможно меньше.
Конденсатор емкостью 20—25 пф служит для связи антенны с входом приемника. К нему припаивают провода от базы и эмиттера входного транзистора. Настройка антенны осуществляется перемещением среднего конденсатора емкостью 6 пф вдоль щели. Если приблизить его к двум конденсаторам, соединенным последовательно, резонансная частота антенны понизится, а если удалить — повысится. Необходимо иметь в виду, что вблизи антенны нельзя помещать какие-либо замкнутые металлические части типа витка, которые могут образовывать паразитные контуры, так как при этом диаграмма направленности антенны исказится.
Диаграмма направленности ферритовой антенны для вертикальнополяризованных волн при горизонтальном ее расположении представляет собой восьмерку (рис. 2,а). Однако при близком ее расположении к телу оператора (на расстоянии 3—5 см) диаграмма становится однонаправленной вследствие переизлучения телом «охотника» поля приходящих радиоволн (рис. 2,6).

Изменяя расстояние между телом «охотника» и антенной, можно получить различные разновидности диаграмм направленности (рис. 2,в и 2,г). В данном случае тело «охотника» играет роль ненаправленной антенны. При расположении антенны вместе с приемником на груди «охотника» максимум диаграммы направленности обращен вперед, что позволяет «охотнику» определять направление на «лису» по максимуму слышимости.
Действующая высота описанной антенны с учетом переизлучения телом «охотника» составляет 0,3— 0,4 м, что практически достаточно для обнаружения одноваттного передатчика, находящегося на расстоянии 2,5—3 км. Чувствительность приемника с его входа при этом должка быть не хуже 5—7 мкв.
Дополнительные данные, характеризующие антенну типа «объемный виток», следующие: добротность — 70-90, входное сопротивление — 150- 170 ом.





