ЭЛЕКТРОННО-МЕХАНИЧЕСКИЙ СТАБИЛИЗАТОР НАПРЯЖЕНИЯ
А. СУХОРУКОВ, Радио №2/1964, ст.46
Электронно-механический стабилизатор напряжения позволяет получать на выходе стабилизированное переменное напряжение 127±2 в и 220 ±4 в при изменении напряжения сети от 50 до 250 в.
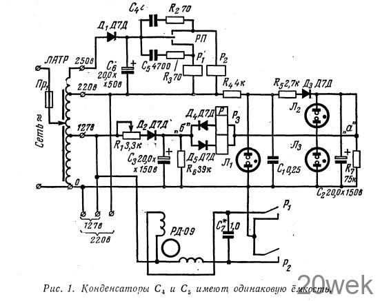
Стабилизатор (рис. 1) представляет собой автотрансформатор ЛАТР-1, выходное напряжение которого независимо от изменения напряжения сети и величины нагрузки поддерживается постоянным автоматически с помощью реверсивного двигателя. Включение и выключение двигателя при колебаниях напряжения сети производится электронной частью стабилизатора.

Напряжение сети подается на зажимы «нагрузка» автотрансформатора, стабилизированное выходное напряжение снимается с зажимов «127 в» и «220 в». Снимаемое с зажимов «220 б» напряжение выпрямляется, стабилизируется и в дальнейшем используется в качестве опорного напряжения. Величина этого напряжения (в точке «а») равна 120 В, коэффициент стабилизации примерно равен 13. Выпрямленное, но не стабилизированное напряжение, снятое с зажимов «127 в», сравнивается с опорным напряжением. Величина этого напряжения при номинальном напряжении сети также равна 120 в (в точке «б»). Следовательно, при номинальном напряжении сети, потенциалы точек «а» и «б» равны, по обмоткам поляризованного реле P3 ток не проходит, и двигатель выключен.
При отклонении напряжения сети от номинального значения потенциал точки «б» становится отличным от потенциала точки «а». По одной из обмоток поляризованного реле, в зависимости от знака разности напряжений, начинает проходить ток того или иного направления.
Поляризованное реле Рз (его контакты на схеме обозначены индексом РП) замыкает цепь одного из реле Р1 или Р2, при помощи которых происходит включение и выключение двигателя. Двигатель, вращая подвижной контакт автотрансформатора, приводит схему в равновесие (потенциалы точек «а» и «б» равны), после чего он выключается. Положение равновесия соответствует номинальному напряжению 127 или 220 В на нагрузке.
Основным элементом, определяющим чувствительность системы, является поляризованное реле Рз, имеющее нейтральное положение якоря, поэтому желательно применять реле с минимальным током срабатывания. В данной конструкции использовано реле РПБ-7. Может быть также применено реле РП-4. Чтобы сделать якорь этих реле нейтральным, необходимо ослабить действие поляризующего магнита. Для этого снимают траверсу, на которой подвешен якорь, и осторожно удаляют пластины магнитопровода якоря. После этого якорь устанавливают на место. В обесточенном реле якорь держится в среднем положении. Затем с помощью регулировочных винтов устанавливают оба боковых контакта на расстоянии порядка 0,5 мм от якоря. Реле P1 и Р2 — типа PGM-2.
В целях уменьшения размеров конструкции использованы неоновые лампы типа ТН-0,9 (Л1) и (Л2, Л3) МН-7. Можно также использовать и обычные газоразрядные стабилитроны.
В качестве приводного механизма применен асинхронный двигатель РД-09 с редуктором 1 : 137. Может быть использован также любой реверсивный маломощный электродвигатель с редуктором, скорость вращения вала которого 1—2 об/мин.
Чтобы помехи, создаваемые электродвигателем, были минимальными, желательно применить асинхронный или синхронный двигатель. Все контакты реле двигателя надо зашунтировать цепочкой RC.
Диоды Д4 и Д5, включенные в обмотки поляризованного реле Рз, следует подобрать с одинаковыми сопротивлениями в прямом направлении. В противном случае на нагрузке будут разные значения отклонений напряжения от номинального.
Налаживание. К налаживанию стабилизатора приступают отсоединив приводной механизм. Поставив ползунок подвижного контакта ЛАТР-1 в крайнее правое положение (то есть на отметку 250 в по шкале автотрансформатора), включают его в сеть. Такая предосторожность связана с тем, что при положении ползунка на отметке «0» может произойти короткое замыкание сети. Включив автотрансформатор в сеть, вращают ползунок против часовой стрелки и по вольтметру устанавливают на зажимах «127 в» или «220 В» соответствующее напряжение. Затем, изменяя величины сопротивлений R1 R4 (2 Вт) и R5, добиваются равенства напряжений в точках «а» и «б». Величина этих напряжений выбирается порядка 120 в. При этом якорь поляризованного реле должен быть в нейтральном положении. Затем присоединяют питание электродвигателя. Вращая ползунок ЛАТР и в ту или другую сторону от исходного положения, отмечают напряжение, при котором срабатывают реле Р2 и P1. Требуемый диапазон чувствительности устанавливают путем регулирования зазора между контактами реле Рз. При этом необходимо убедиться, что вал редуктора привода вращается в сторону, противоположную повороту ползунка, после чего можно соединить редуктор с осью подвижного контакта автотрансформатора.
Работу стабилизатора удобно проверять при наличии второго ЛАТР-1. Скорость изменения напряжения сети, на которую будет успевать реагировать стабилизатор, зависит от скорости вращения редуктора. Так, например, при скорости вращения 0,5 об/мин скорость изменения напряжения примерно равна 4 в/сек.
Описанный стабилизатор может быть использован для питания различного рода аппаратуры и бытовых приборов, причем мощность потребителя не должна превышать мощности автотрансформатора стабилизатора.
ОТ РЕДАКЦИИ: При установке двигателя следует пользоваться рекомендациями, приведенными в статье Е. Испуганова «Регулятор напряжения»





