ДИКТОФОННАЯ ПРИСТАВКА
В. Пакулин, Радио №1/1966, ст.31
Описываемое устройство предназпредназначено для печати с помощью пишущей машинки записанных на магнитофоне доклада, лекции или разговорной речи. Оно позволяет провести исправление и редактирование записанного текста непосредственно в момент печатания, что достигается синхронной работой пишущей машинки и магнитофона
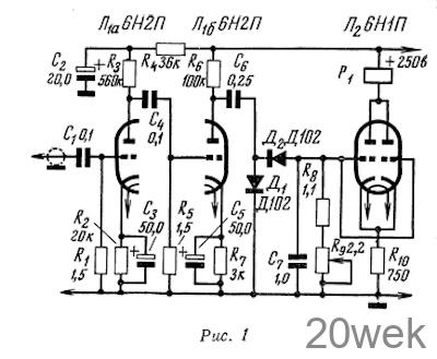
Устройство состоит из датчика, укрепляемого на корпусе пишущей машинки, и электронного блока, который управляет работой лентопротяжного механизма магнитофона (рис. 1). В нормальном, исходном положении контакты исполнительного реле замкнуты, лента магнитофона движется, и воспроизводится записанный текст. Прослушав несколько слов или законченное предложение, машинистка начинает печатать; от первого же удара по клавише машинки датчик выдает серию затухающих колебаний, которые после усиления и ограничения по амплитуде поступают на выпрямитель. Конденсатор С7 заряжается, при этом лампа Л2 запирается отрицательным напряжением, обмотка реле P1 обесточивается, его контакты размыкают электрическую цепь прижимных электромагнитов и двигателей магнитофона и магнитная лента останавливается. После окончания печатания конденсатор С7 начинает разряжаться по цепочке R8R9. Когда напряжение на конденсаторе будет равно напряжению отпирания лампы Л2, контакты реле снова приходят в исходное положение. Время, в течение которого лампа бывает заперта, можно регулировать сопротивлением R9 в пределах от 1 до 5 сек.

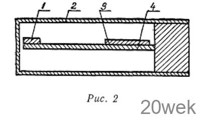
Датчиком (рис. 2) может быть пьезокристалл 3, наклеенный на гибкую стальную пластинку 4, на конце которой имеется небольшой груз 1. Толщина пластинки и вес груза должны быть подобраны таким образом, чтобы собственная частота колебаний подвижной системы составляла 60—80 гц. Датчик размещен в легком алюминиевом корпусе 2, служащем одновременно экраном, который в свою очередь укреплен на корпусе пишущей машинки с помощью зажима типа «крокодил».

Усиление сигнала, поступающего от датчика, производится двухкаскадным усилителем, собранным на лампе 6Н2П, при этом вторая половина лампы является одновременно ограничителем. В выпрямителе применены кремниевые диоды, обладающие малым обратным током. Сопротивление R10 включено для ограничения тока через обмотку реле.
Данное устройство может быть прибором, сигнализирующим о прекращении работы различных установок, создающих шум или вибрацию
Радио №3/1966, ст.62






