ЦИФРОВОЙ ИЗМЕРИТЕЛЬ ЕМКОСТИ И СОПРОТИВЛЕНИИ
А. Рыжевский, Радио №1/1966, ст.44
Прибор предназначен для измерения емкости конденсаторов в диапазоне от 1000 пф до 10 мкф и линейных сопротивлений от 10 ом до 100 ком. Диапазон измеряемых емкостей и сопротивлений разбит на три поддиапазона. Погрешность измерения на всех поддиапазонах не превышает 1% от значения верхнего предела. Время измерения не превышает 0,01 сек. Для индикации результатов измерения служат три цифровые индикаторные лампы. Питается прибор от сети 220 в, потребляемая мощность (без пересчетного блока) 1 вт.
Принцип действия прибора.
Блок-схема, показанная на рис. 1, включает в себя блок измерения временных интервалов (генератор счетных импульсов, схему совпадения, счетчик импульсов) и преобразователь величины емкости или сопротивления в пропорциональный этой величине интервал времени (триггер и схема сравнения напряжений).

Принцип измерения основан на преобразовании величины емкости или сопротивления в пропорциональный интервал времени. Импульс напряжения с выхода триггера поступает на схему совпадений. Этот импульс, длительность которого определяется величиной измеряемого параметра, заполняется счетными импульсами стабильной частоты, которые и подсчитываются пересчетным блоком.
При замыкании контакта Кн1 напряжение от источника питания подается на измерительную цепь RC и на триггер. Триггер опрокидывается, формируя передний фронт импульса, поступающего на схему совпадений. Как только напряжение с выхода триггера попадает на схему совпадений, счетные импульсы начинают поступать на счетчик.
Конденсатор С заряжается током, проходящим через сопротивление R. Возрастающее напряжение заряда подается на схему сравнения напряжений. Как только конденсатор зарядится до определенного напряжения, схема сравнения подает импульс на триггер, возвращая его в исходное состояние. При этом прекращается поступление счетных импульсов на счетчик.
За промежуток времени t, равный постоянной времени цепи RC(t=RC), при частоте следования счетных импульсов f на счетчик поступит N импульсов N=f*RC. Частота следования счетных импульсов постоянна.
При измерении сопротивлений на каждом поддиапазоне включается конденсатор, емкость которого известна. Число счетных импульсов будет прямо пропорционально величине измеряемого сопротивления, то есть
NR = k* Rx.
При измерении емкости на каждом поддиапазоне включается калиброванное сопротивление. Число счетных импульсов в этом случае будет прямо пропорционально измеряемой емкости, то есть
Nc = kCx.
Частота следования счетных импульсов, а также номинальные величины образцовых сопротивлений и емкостей выбирают таким образом, чтобы коэффициент пропорциональности k для всех поддиапазонов был кратным 10. Показания блока индикации умножают на этот коэффициент, и результаты измерения отсчитывают в омах и пикофарадах.
Принципиальная схема прибора. В схеме, представленной на рис. 2, положения переключателей соответствуют измерению сопротивлений в пределах 1 ком. Генератор счетных импульсов состоит из кварцевого генератора (T1), и одностабильного триггера на транзисторах Т2 и Т3. Кварцевый генератор генерирует синусоидальное напряжение частоты 100 кгц, из, которого формируются счетные импульсы. Это напряжение из цепи коллектора транзистора Т2 через конденсатор С5 подается на одностабильный триггер и запускает его. На коллекторной нагрузке транзистора Т3 выделяются прямоугольные импульсы, которые через конденсатор С7 поступают на схему совпадений (T4).

Счетные импульсы со схемы совпадений попадают на счетчик (не показанный на схеме) только тогда, когда на базу транзистора T4 через сопротивление R14 подается напряжение около 1 в (с триггера T5 T6). В исходное состояние этот триггер возвращается нажатием кнопки Kн2 (сброс показаний). При этом на короткое время с базы транзистора снимается напряжение смещения +6,3 в. Аналогичным способом возвращают в исходное состояние триггеры счетчика импульсов. На них импульс сброса поступает с зажима а. Когда триггер Т5, Т3 находится в исходном состоянии, напряжение на коллекторе T6, а стало быть на схеме совпадений, низкое (около —9 в), и счетные импульсы не проходят на счетчик.
Приступая к измерениям, нажимают кнопку Кн1 и импульс напряжения —10 в подается на измерительную цепь RC. Передний фронт этого импульса дифференцируется цепью С10R23 и через диод Д3 запускает триггер. Последний опрокидывается, и из коллекторной цепи транзистора Тб на схему совпадений через сопротивление R14 подается напряжение, при котором счетные импульсы начинают поступать на счетчик.
При измерении сопротивлений напряжение —10 в через переключатель рода работы П2а поступает на измеряемое сопротивление Rx. Током, протекающим по сопротивлению Rх, заряжается эталонный конденсатор С14. Отрицательное напряжение заряда подается на схему сравнения напряжений, которая состоит из диода Д6 и блокинг-генератора на транзисторе Т7. В исходном состоянии диод Д6 заперт отрицательным напряжением, поступающим со средней точки потенциометра R31 через conpoтивление R33 и обмотку II трансформатора Тр1. Как только напряжение на эталонном конденсаторе станет равным запирающему напряжению, через диод Д6 и обмотку трансформатора потечет ток. При этом начинает работать блокинг-генератор. Импульс напряжения блокинг-генератора через конденсатор С11 поступает на дифференцирующую цепь С11R22. Передний фронт продифференцированного импульса запускает триггер T5, T6 Триггер опрокидывается и прекращает поступление счетных импульсов на счетчик.
При измерении емкости изменяют положение переключателя рода работы П2, а положение переключателя П1 выбирают в зависимости от требуемого предела измерения. При нажатии кнопки Kн1 напряжение —10 в через одно из эталонных сопротивлений R34—R36 и контакты переключателей П1а и П2б подается на конденсатор, емкость которого надо измерить.
Прибор работает так же, как и при измерении сопротивления.
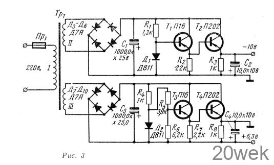
Как при измерении емкости, так и при измерении сопротивления, прибор можно калибровать. При этом включают тумблер П3 (калибровка), переключатели П1 и П2 устанавливают в соответствующее положение. При калибровке измеряют эталонное сопротивление (или емкость), соответствующее верхнему значению выбранного предела измерения. Вот, например, как надо калибровать прибор при измерении сопротивления (предел измерения 10 ком). Переключатель П2 устанавливают в положение, показанное на схеме, a П1 в положение X 10, включают тумблер калибровки. Затем нажимают на кнопку Кн1. Напряжение — 10_в через эталонное сопротивление R35, контакт X 10 переключателя П1б, переключатель П2в, тумблер П3, переключатель П2б подается на эталонный конденсатор С15. За время, в течение которого заряжается этот конденсатор, на счетчик должно поступить 999 импульсов. Если это не так, надо изменить положение движка потенциометра R31 и повторить калибровку. После каждого измерения сбрасывают показания счетчика, нажимая на кнопку Кн2. В качестве счетчика импульсов в приборе использовались три пересчетные декады типа ИЗ-12, однако можно использовать любые пересчетные устройства с рабочей частотой 100 кгц (например, полупроводниковые счетчики в сочетании с декатронами, описанные в журнале Радио № 2 за 1902 год). Питающие напряжения —10в и +6,3 в берутся от стабилизированных выпрямителей (рис. 3).

Конструкция и детали. Прибор собран на каркасе из уголков сечением 10 X 10 мм. Все мелкие детали прибора, за исключением схемы сравнения напряжений, размещены на двух гетинаксовых платах толщиной 2 мм. Расположение деталей на одной из плат показано на рис. 4. На другой плате смонтированы стабилизаторы напряжения. Платы прикреплены к шестнадцати контактным ножевым разъемам. Диод Д6 и блокинг-генератор размещены непосредственно на переключателе П1. К каркасу прикреплена передняя панель с органами управления и отверстиями для цифровых индикаторных ламп. Пусковой и сбрасывающий контакты объединены в одной кнопке с двумя контактными парами.

В приборе применены сопротивления типа МЛТ-0,5, конденсаторы КСО, ЭМ, БМ. Конденсаторы С15, С16, типа СГО, однако можно использовать любые слюдяные конденсаторы, подобрав их емкость с точностью до 0,5% . Величины сопротивлений следует подобрать с помощью моста постоянного тока с точностью не хуже 0,5%. Вместо транзисторов П403 (T1—T4) можно применить П401 или П16. Диод Д105 (Д6) можно заменить диодом Д220. Резонансная частота кварца должна лежать в пределах 80—120 кгц, в зависимости от этого при калибровке надо выбирать положение движка потенциометра.
Обмотки трансформатора Тр1 блокинг-генератора T6 (рис. 2), намотаны на ферритовом кольце Ф-1000 диаметром 18 мм. Сердечник силового трансформатора Тр1 (рис. 3) набран из пластин Ш-10, толщина набора 16 мм. Обмотка 1 содержит 4600 витков провода ПЭЛ 0,08; обмотки II и III — по 220 витков провода ПЭЛ 0,14.
Налаживание прибора. Налаживание прибора начинают с проверки блока питания (рис. 3). Его включают в сеть через ЛАТР и с помощью вольтметра проверяют стабильность выходных напряжений. Последние не должны заметно изменяться при изменении питающего напряжения от 190 до 250 в. Величины сопротивлений R5 и R6 выбирают так, чтобы на выходе транзистора было напряжение +6,3 в. В зависимости от параметров диода Д1 напряжение на выходе транзистора Т2 может изменяться от 10 до 12 в.
Затем, изменяя в небольших пределах сопротивление R12 (рис. 2) добиваются необходимой амплитуды импульсов, поступающих с выхода транзистора T4 на счетчик. Амплитуда импульсов, запускающих пересчетные декады ИЗ-12, должна лежать в пределах от 3 до 7 в. Чтобы проверить работу счетчика, отключают от коллектора транзистора Т7 конденсатор С11 и нажимают кнопку Кн1. Цифровые индикаторные лампы должны все время светиться. При размыкании контакта Кн2 на индикаторных лампах должны загореться нули. Проверяя работу схемы сравнения напряжений, устанавливают движок потенциометра К31, так, чтобы с него можно было снимать напряжение —5 В, подключают к коллектору транзистора Т7 конденсатор С11 и осциллограф. При замыкании контакта блокинг-генератор начинает работать в автоколебательном режиме. На экране осциллографа должны появиться прямоугольные импульсы с частотой следования примерно 100 кгц. Если это не наблюдается, надо поменять концы одной из обмоток. После этого приступают к окончательной настройке прибора. Включают тумблер П3 (калибровка) и перемещают движок потенциометра R31 до тех пор, пока на счетчики не будет поступать 999 импульсов. Напряжение, снимаемое с потенциометра R31, при этом должно составлять примерно — 6,3 в. В дальнейшем калибровка прибора повторяется при изменении рода работы или предела измерения.





